
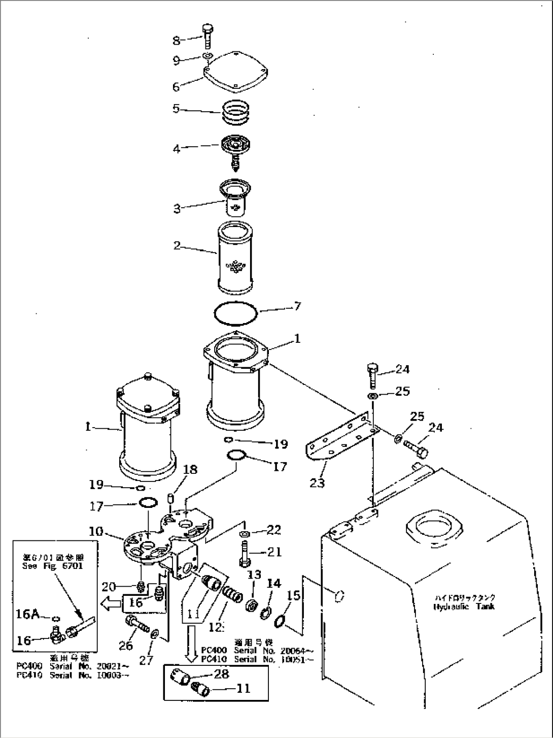
| Item | Part No. | Part Name | Qty | Serial No. |
| 1 | 208-60-51350 | CASE | 20001- | |
| 2 | 07063-01142 | ELEMENT | 20001- | |
| 3 | 206-60-41221 | STRAINER | 20001- | |
| 4 | 12R-60-11300 | VALVE ASS'Y | 20001- | |
| 5 | 12R-60-11390 | SPRING | 20001- | |
| 6 | 207-60-51440 | COVER | 20001- | |
| 7 | 07000-05180 | O-RING | 20001- | |
| 8 | 01010-51245 | BOLT | 20001- | |
| 9 | 01643-31232 | WASHER | 20001- | |
| 10 | 208-60-51371 | BRACKET | 20064- | |
| 10 | 208-60-51370 | BRACKET | 20001-20063 | |
| 11 | 208-60-51411 | POPPET | 20064- | |
| 11 | 208-60-51410 | POPPET | 20021-20063 | |
| 11 | \0\205-60-71230 | POPPET | 20001-20020 | |
| 12 | 708-1D-14130 | SPRING | 20064- | |
| 12 | 706-76-71190 | SPRING | 20001-20063 | |
| 13 | 208-60-51392 | SPACER | 20064- | |
| 13 | 208-60-51391 | SPACER | 20021-20063 | |
| 13 | \0\208-60-51390 | SPACER | 20001-20020 | |
| 14 | 04065-04218 | RING,SNAP | 20064- | |
| 14 | 04065-05020 | RING,SNAP | 20001-20063 | |
| 15 | 07000-02060 | O-RING | 20001- | |
| 16 | 07235-10315 | ELBOW | 20021- | |
| 16 | 07042-30617 | PLUG | 20001-20020 | |
| 16A | 07002-02034 | O-RING | 20021- | |
| 17 | 07000-02080 | O-RING | 20001- | |
| 18 | 04020-00820 | PIN | 20001- | |
| 19 | 07000-02020 | O-RING | 20001- | |
| 20 | 07042-30211 | PLUG | 20001- | |
| 21 | 01010-51245 | BOLT | 20001- | |
| 22 | 01643-31232 | WASHER | 20001- | |
| 23 | 208-60-51380 | PLATE | 20001- | |
| 24 | 01010-51230 | BOLT | 20001- | |
| 25 | 01643-31232 | WASHER | 20001- | |
| 26 | 01010-51245 | BOLT | 20001- | |
| 27 | 01643-31232 | WASHER | 20001- | |
| 28 | 208-60-51420 | COLLAR | 20064- |
