
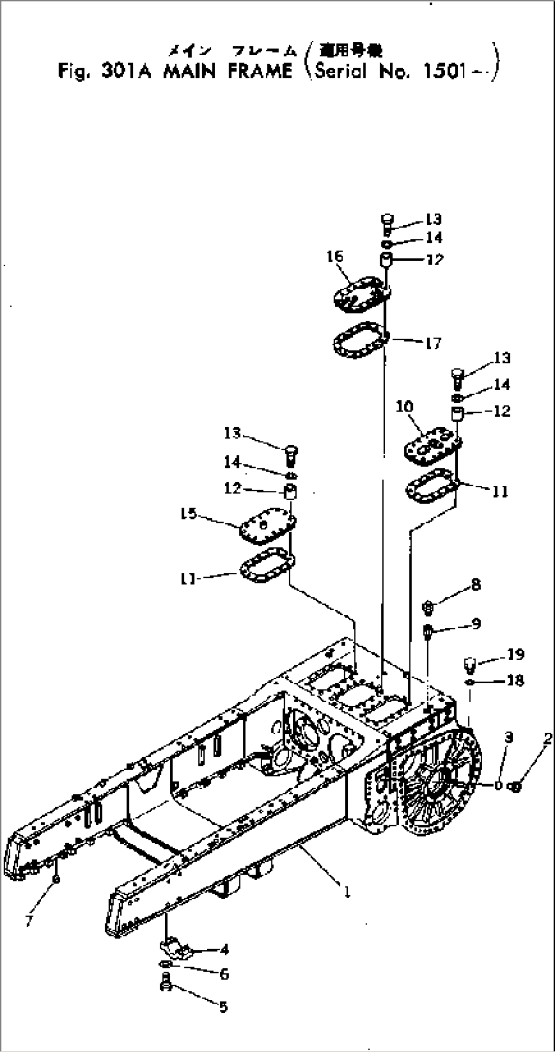
| Item | Part No. | Part Name | Qty | Serial No. |
| 1 | 198-21-12104 | MAIN FRAME ASS'Y | 1501- | |
| 2 | 07044-13620 | PLUG | 1002- | |
| 3 | 07002-03634 | O-RING | 1002- | |
| 4 | 198-21-12230 | BOSS | 1002- | |
| 5 | 01011-63625 | BOLT | 1002- | |
| 6 | 01643-33690 | WASHER | 1002- | |
| 7 | 07049-03038 | PLUG | 1004- | |
| 8 | 07030-00252 | BREATHER | 1002- | |
| 9 | 07350-00215 | NIPPLE | 1301- | |
| 10 | 198-21-12262 | COVER,L.H. | 1501- | |
| 11 | 198-21-12281 | SEAT | 1004- | |
| 12 | 198-21-12240 | BOSS | 1002- | |
| 13 | 01010-31470 | BOLT | 1501- | |
| 14 | 01643-31445 | WASHER | 1559- | |
| 14 | \0\01602-01442 | WASHER | 1002-1558 | |
| 15 | 198-21-12272 | COVER,R.H. | 1301- | |
| 16 | 198-21-12253 | COVER,CENTER | 1501- | |
| 16 | 198-21-12252 | COVER,CENTER | 1301-1500 | |
| 17 | 198-21-12292 | SEAT | 1501- | |
| 18 | 07002-03634 | O-RING | 1559- | |
| 19 | 07040-13618 | PLUG | 1559- |
