
| Item | Part No. | Part Name | Qty | Serial No. |
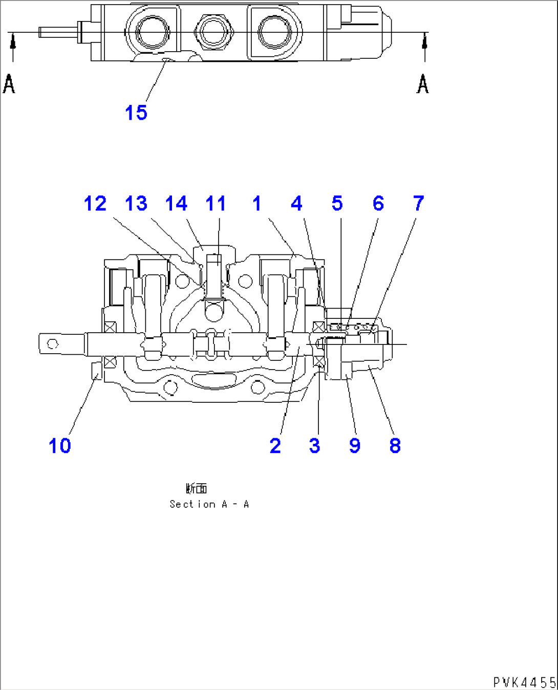
| (104-60-41500) | VALVE ASS'Y | 83001- | ||
| THIS ASSEMBLY CONSISTS OF ALL PARTS SHOWN IN FIGS.Y1680-41A0 TO Y1680-45A0. | ||||
| NAD33420697301 | VALVE SUB ASS'Y | 83001- | ||
| 1 | \6\ | BLOCK | 83001- | |
| 2 | \6\ | SPOOL | 83001- | |
| 3 | NAE55414586501 | SEAL,OIL | 83001- | |
| 4 | NAD33090604004 | PLATE | 83001- | |
| 5 | NAD33414362401 | RETAINER | 83001- | |
| 6 | NAE574134171 | SPRING | 83001- | |
| 7 | NAE51417062001 | BOLT | 83001- | |
| 8 | NAD33414760401 | CASE | 83001- | |
| 9 | NAE51416985101 | BOLT | 83001- | |
| 10 | NAA02010601051 | BOLT | 83001- | |
| 11 | NAD33417236801 | POPPET | 83001- | |
| 12 | NAE57417237001 | SPRING | 83001- | |
| 13 | NAC01100014010 | O-RING | 83001- | |
| 14 | NAD33417236901 | PLUG | 83001- | |
| 15 | NAC01200055010 | O-RING | 83001- |
