
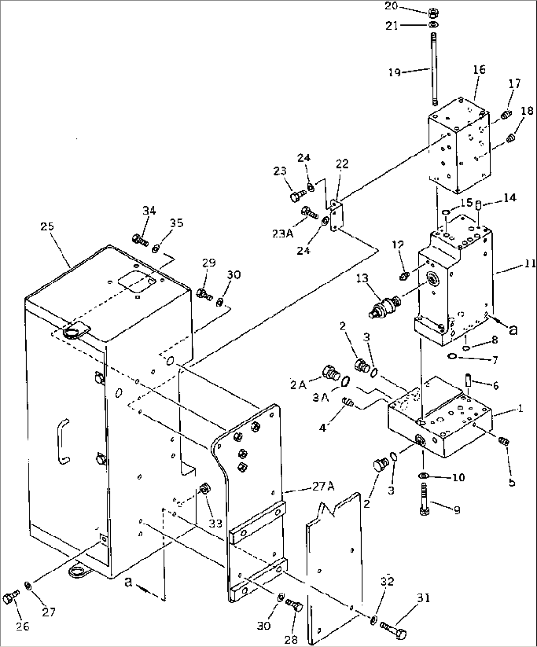
| Item | Part No. | Part Name | Qty | Serial No. |
| 1 | 22S-62-13211 | MANIFOLD,(D1) | 15001- | |
| 2 | 07040-12414 | PLUG | 15001- | |
| 2A | 07040-13016 | PLUG | 15001- | |
| 3 | 07002-12434 | O-RING | 15001- | |
| 3A | 07002-13634 | O-RING | 15001- | |
| 4 | 07042-30211 | PLUG | 15001- | |
| 5 | 07043-50108 | PLUG | 15001- | |
| 6 | 04020-00820 | PIN | 15001- | |
| 7 | 07000-13028 | O-RING | 15001- | |
| 8 | 07000-12016 | O-RING | 15001- | |
| 9 | 01253-41405 | BOLT | 15001- | |
| 10 | 01643-31445 | WASHER | 15001- | |
| 11 | 22S-62-13220 | MANIFOLD,(D2) | 15001- | |
| 12 | 07042-30211 | PLUG | 15001- | |
| 13 | 700-82-56000 | RELIEF VALVE ASS'Y | 15001- | |
| 14 | 04020-00820 | PIN | 15001- | |
| 15 | 07000-12016 | O-RING | 15001- | |
| 16 | 22S-62-13230 | MANIFOLD,(D3) | 15001- | |
| 17 | 07042-30211 | PLUG | 15001- | |
| 18 | 07043-50211 | PLUG | 15001- | |
| 19 | 22S-62-13241 | STUD | 15001- | |
| 20 | 01580-11411 | NUT | 15001- | |
| 21 | 01643-31445 | WASHER | 15001- | |
| 22 | 22S-62-12730 | BRACKET | 15001- | |
| 23 | 01010-51020 | BOLT | 15001- | |
| 23A | 01010-51030 | BOLT | 15001- | |
| 24 | 01643-31032 | WASHER | 15001- | |
| 25 | 22S-62-12721 | BOX | 15001- | |
| 26 | 01010-51220 | BOLT | 15002- | |
| 01010-51225 | BOLT | 15001-15001 | ||
| 27 | 01643-31232 | WASHER | 15001- | |
| 27A | 22S-62-15460 | PLATE | 15001- | |
| 28 | 01010-51030 | BOLT | 15001- | |
| 29 | 01010-51030 | BOLT | 15001- | |
| 30 | 01643-31032 | WASHER | 15001- | |
| 31 | 01010-51680 | BOLT | 15001- | |
| 32 | 01643-31645 | WASHER | 15001- | |
| 33 | 09415-01610 | CAP | 15001- | |
| 34 | 01010-51025 | BOLT | 15001- | |
| 35 | 01643-31032 | WASHER | 15001- |
