
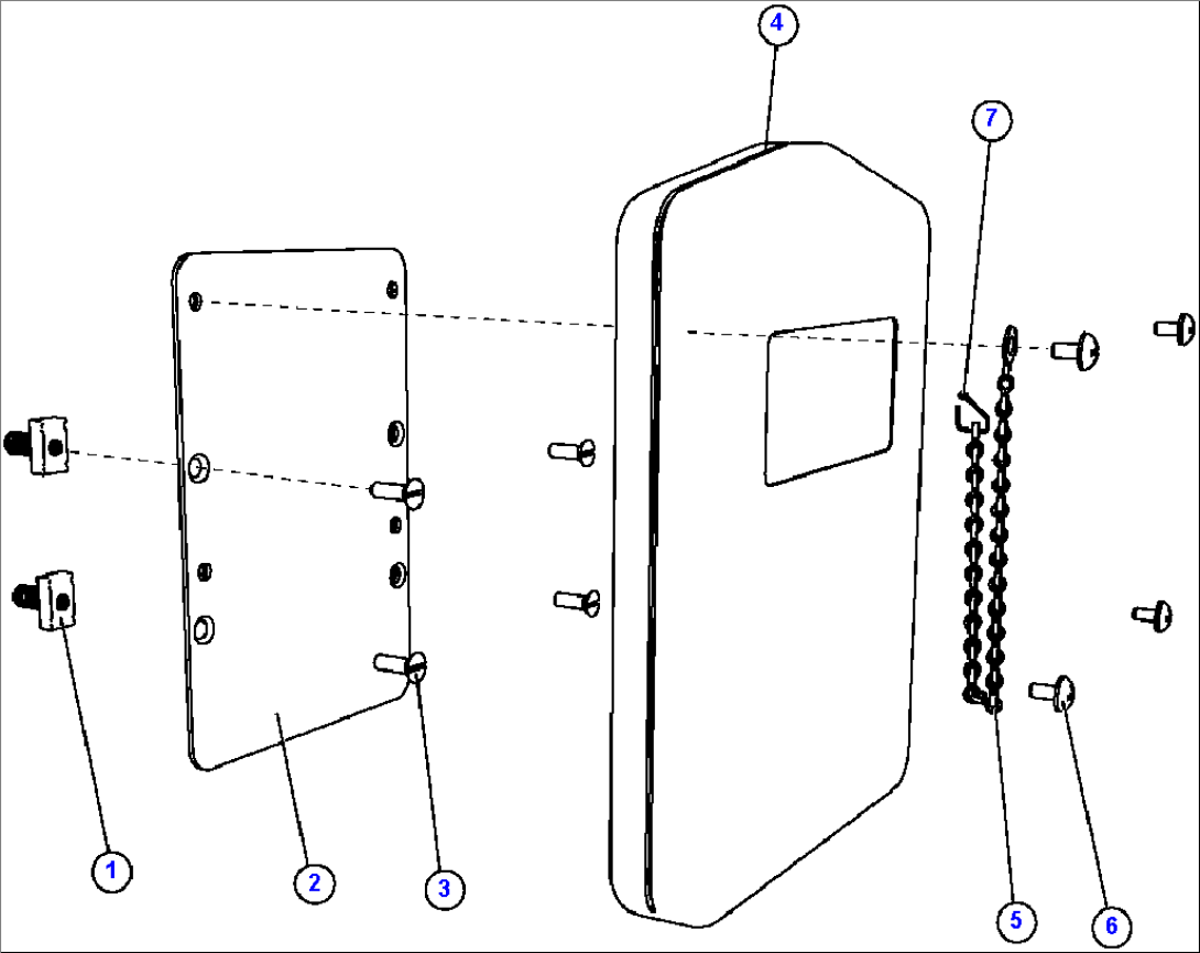
| Item | Part No. | Part Name | Qty | Serial No. | 
| 1 | PC1825 | NUT, SPRING | ||
| 2 | EL1098 | MANUPAK PLATE | ||
| 3 | VN7403 | MACHINE SCREW - 5/16" - 18NC X 1" | ||
| 4 | PC1801 | MANUPAK | ||
| 5 | SM5245 | CHAIN, BEADED | ||
| 6 | SM0926 | SCREW, PANEL - M6 X 1.00 | ||
| 7 | WA3217 | COLD SHUT - 3/16" | 

| Item | Part No. | Part Name | Qty | Serial No. | 
| 1 | PC1825 | NUT, SPRING | ||
| 2 | EL1098 | MANUPAK PLATE | ||
| 3 | VN7403 | MACHINE SCREW - 5/16" - 18NC X 1" | ||
| 4 | PC1801 | MANUPAK | ||
| 5 | SM5245 | CHAIN, BEADED | ||
| 6 | SM0926 | SCREW, PANEL - M6 X 1.00 | ||
| 7 | WA3217 | COLD SHUT - 3/16" |