
| Item | Part No. | Part Name | Qty | Serial No. |
| G-1 | (\8\208-99-X1320) | USA MARK GROUP | 20001- | |
| ==================== | ||||
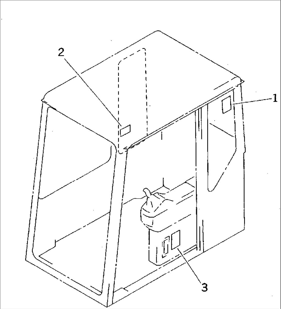
| 1 | 208-00-51330 | PLATE,LIFTING CAPACITY | 20001- | |
| 2 | 205-00-65490 | PLATE¤ CAUTION | 20001- | |
| ==================== | ||||
| 3 | 203-00-61291 | PLATE¤ CAUTION | 21090- |

| Item | Part No. | Part Name | Qty | Serial No. |
| G-1 | (\8\208-99-X1320) | USA MARK GROUP | 20001- | |
| ==================== | ||||
| 1 | 208-00-51330 | PLATE,LIFTING CAPACITY | 20001- | |
| 2 | 205-00-65490 | PLATE¤ CAUTION | 20001- | |
| ==================== | ||||
| 3 | 203-00-61291 | PLATE¤ CAUTION | 21090- |