
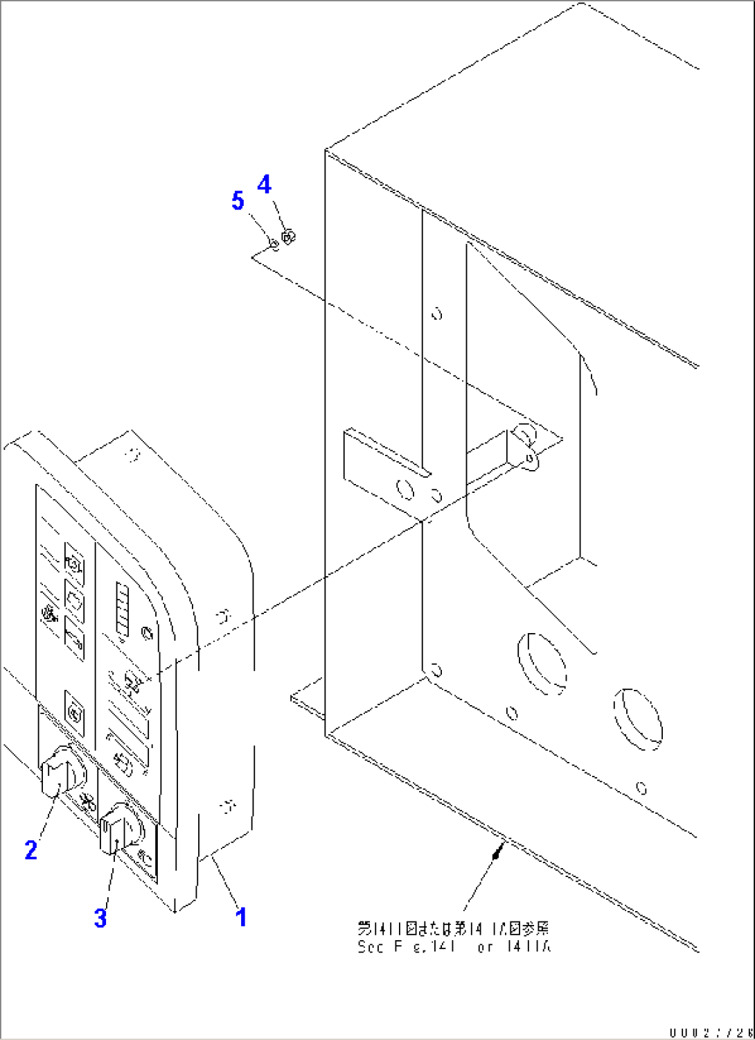
| Item | Part No. | Part Name | Qty | Serial No. |
| 1 | (7834-73-2002) | MONITOR | 1560- | |
| 1 | (7834-73-2001) | MONITOR | 1005-1559 | |
| 2 | (7824-84-2810) | SWITCH | 1005- | |
| 2 | (7824-84-2890) | KNOB | 1005- | |
| 3 | (7824-84-2810) | SWITCH | 1005- | |
| 3 | (7824-84-2890) | KNOB | 1005- | |
| 4 | 01580-10605 | NUT | 1005- | |
| 5 | 01641-20608 | WASHER | 1005- |
