
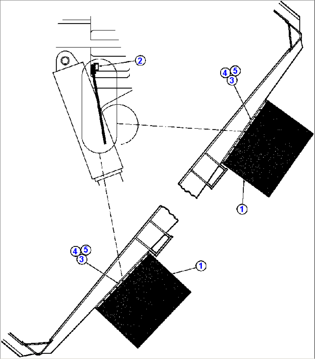
| Item | Part No. | Part Name | Qty | Serial No. |
| 1 | EL5256 | MUD FLAP | ||
| 2 | TZ5940 | ANGLE, MOUNTS | ||
| 3 | TZ5941 | BAR, DRILLED | ||
| 4 | C1603 | CAPSCREW - 3/8" - 16NC X 1 1/4" | ||
| 5 | C0312 | LOCKWASHER - 3/8" |

| Item | Part No. | Part Name | Qty | Serial No. |
| 1 | EL5256 | MUD FLAP | ||
| 2 | TZ5940 | ANGLE, MOUNTS | ||
| 3 | TZ5941 | BAR, DRILLED | ||
| 4 | C1603 | CAPSCREW - 3/8" - 16NC X 1 1/4" | ||
| 5 | C0312 | LOCKWASHER - 3/8" |