
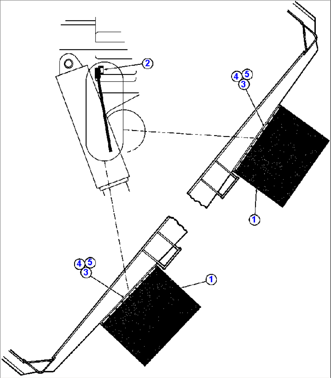
Item | Part No. | Part Name | Qty | Serial No. |
1 | TZ5942 | MUD FLAP | ||
2 | TZ5940 | ANGLE, MOUNTS | ||
3 | TZ5941 | BAR, DRILLED | ||
4 | C1603 | CAPSCREW - 3/8" - 16NC X 1 1/4" | ||
5 | C0312 | LOCKWASHER - 3/8" |
Item | Part No. | Part Name | Qty | Serial No. |
1 | TZ5942 | MUD FLAP | ||
2 | TZ5940 | ANGLE, MOUNTS | ||
3 | TZ5941 | BAR, DRILLED | ||
4 | C1603 | CAPSCREW - 3/8" - 16NC X 1 1/4" | ||
5 | C0312 | LOCKWASHER - 3/8" |