
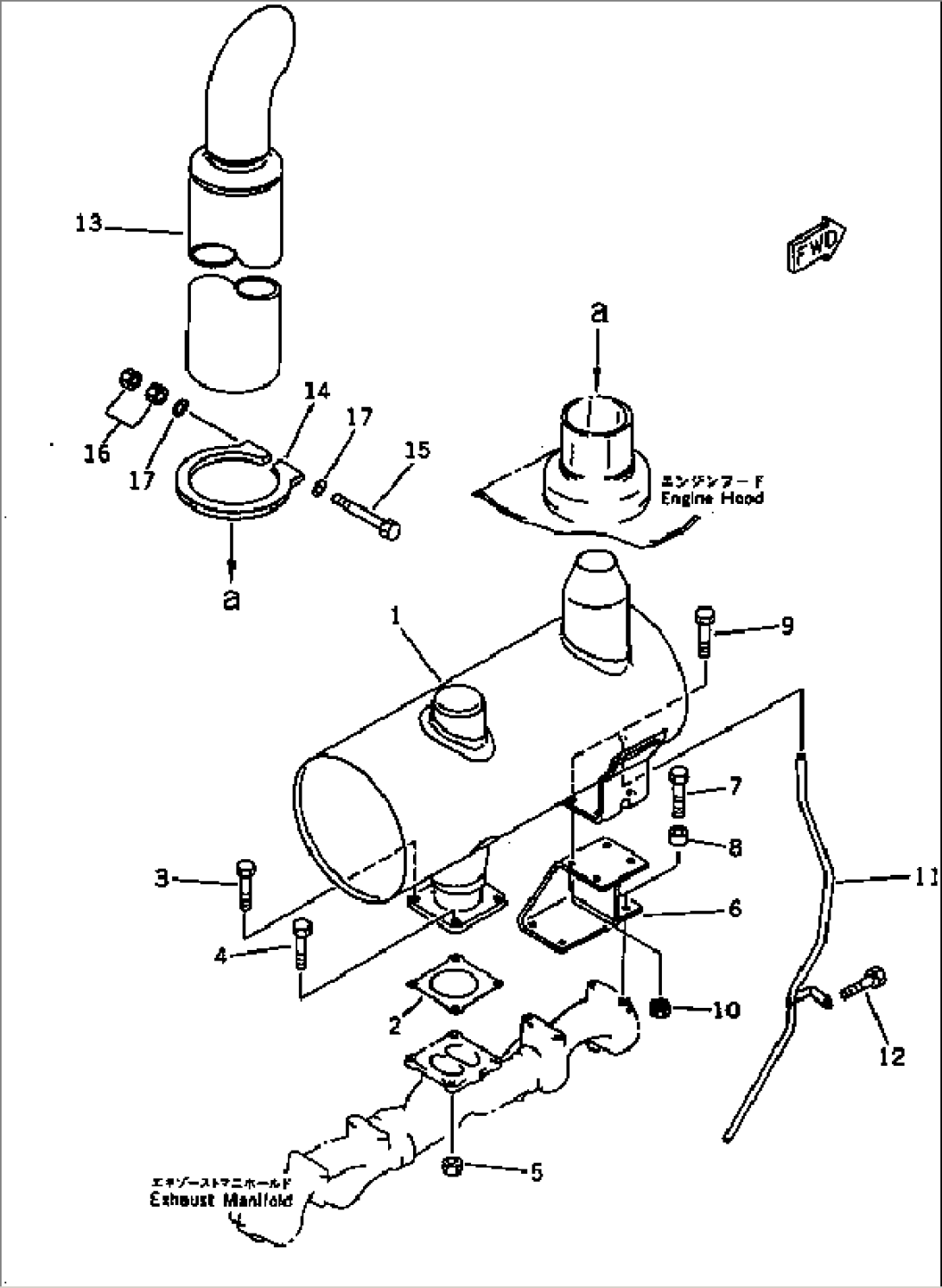
| Item | Part No. | Part Name | Qty | Serial No. |
| 1 | 6150-11-5512 | MUFFLER | 24586- | |
| (\2\6150-11-5511) | MUFFLER | (24586-40754) | ||
| 2 | 6150-11-5710 | GASKET (K1) | 24586- | |
| 3 | 01010-61030 | BOLT | 24586- | |
| 4 | 01050-61045 | BOLT | 24586- | |
| 5 | 6114-11-5590 | NUT | 24586- | |
| 6 | 6150-11-5720 | BRACKET | 24586- | |
| 7 | 01010-31040 | BOLT | 24586- | |
| 8 | 6631-11-5630 | SPACER | 24586- | |
| 9 | 01010-31025 | BOLT | 24586- | |
| 10 | 01580-01008 | NUT | 24586- | |
| 11 | 6150-11-5561 | TUBE | 24586- | |
| 12 | (01010-51040) | BOLT,(SEE FIG.0501) | 24586- | |
| 13 | 6631-11-5780 | PIPE,EXHAUST | 24586- | |
| 14 | 6693-12-5540 | CLAMP | 24586- | |
| 15 | 6693-12-5550 | BOLT | 24586- | |
| 16 | 01582-01411 | NUT | 24586- | |
| 17 | 01641-21423 | WASHER | 24586- |
