
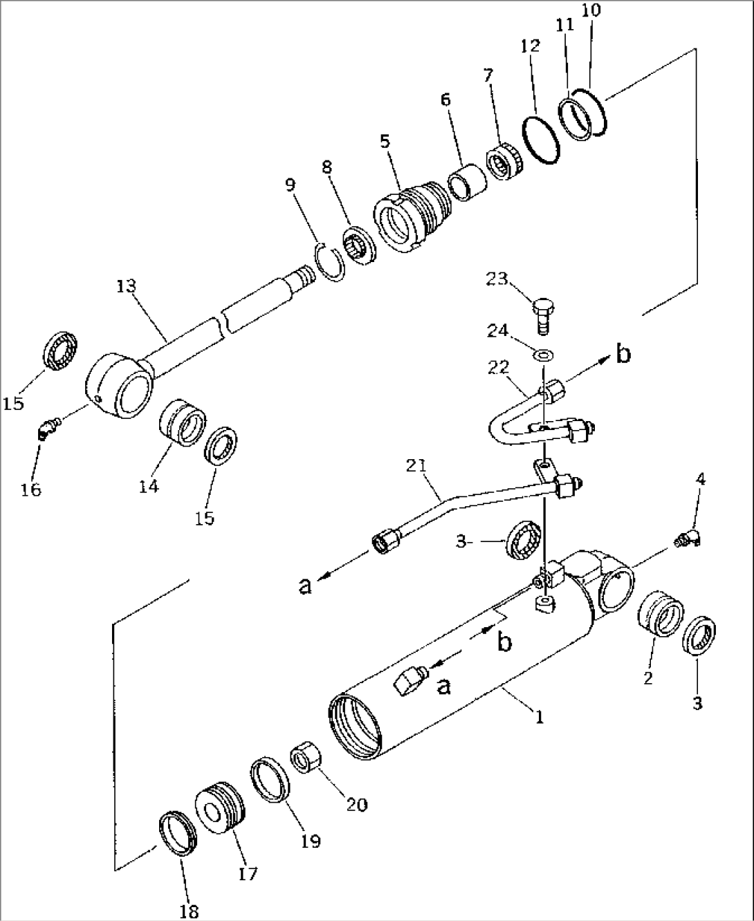
| Item | Part No. | Part Name | Qty | Serial No. |
| G-1 | 20C-63-X2141 | CYLINDER GROUP,OFFSET | 3001- | |
| ==================== | ||||
| 20C-63-02141 | CYLINDER ASS'Y | 3001- | ||
| 1 | 20C-63-86241 | CYLINDER | 3001- | |
| 2 | 07144-10304 | BUSHING | 3001- | |
| 3 | 07145-00035 | SEAL,DUST (KIT) | 3001- | |
| 4 | 07020-00675 | FITTING,GREASE | 3001- | |
| 5 | 707-29-70820 | HEAD,CYLINDER | 3001- | |
| 6 | 07177-03525 | BUSHING | 3001- | |
| 7 | 707-51-35210 | PACKING,ROD (KIT) | 3001- | |
| 8 | 175-63-75190 | SEAL,DUST (KIT) | 3001- | |
| 9 | 07179-12047 | RING,SNAP | 3001- | |
| 10 | 07000-12065 | O-RING (KIT) | 3001- | |
| 11 | 07146-02066 | RING,BACK-UP (KIT) | 3001- | |
| 12 | 07000-02070 | O-RING (KIT) | 3001- | |
| 13 | 20C-63-86220 | ROD,PISTON | 3001- | |
| 14 | 07144-10304 | BUSHING | 3001- | |
| 15 | 07145-00035 | SEAL,DUST (KIT) | 3001- | |
| 16 | 07020-00675 | FITTING,GREASE | 3001- | |
| 17 | 707-36-70160 | PISTON | 3001- | |
| 18 | 707-44-70180 | RING,PISTON (KIT) | 3001- | |
| 19 | 07156-00710 | RING,WEAR (KIT) | 3001- | |
| 20 | 01580-02419 | NUT | 3001- | |
| 21 | 20C-63-86270 | TUBE | 3001- | |
| 22 | 20C-63-86280 | TUBE | 3001- | |
| 23 | 01010-51020 | BOLT | 3001- | |
| 24 | 01643-31032 | WASHER | 3001- | |
| ==================== |
