
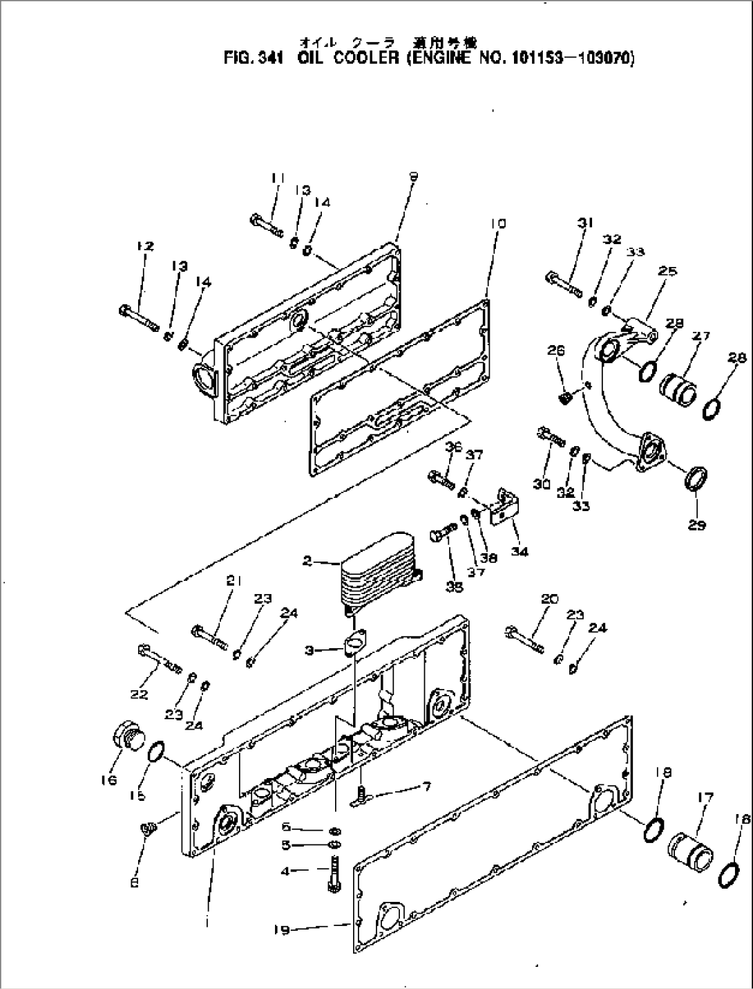
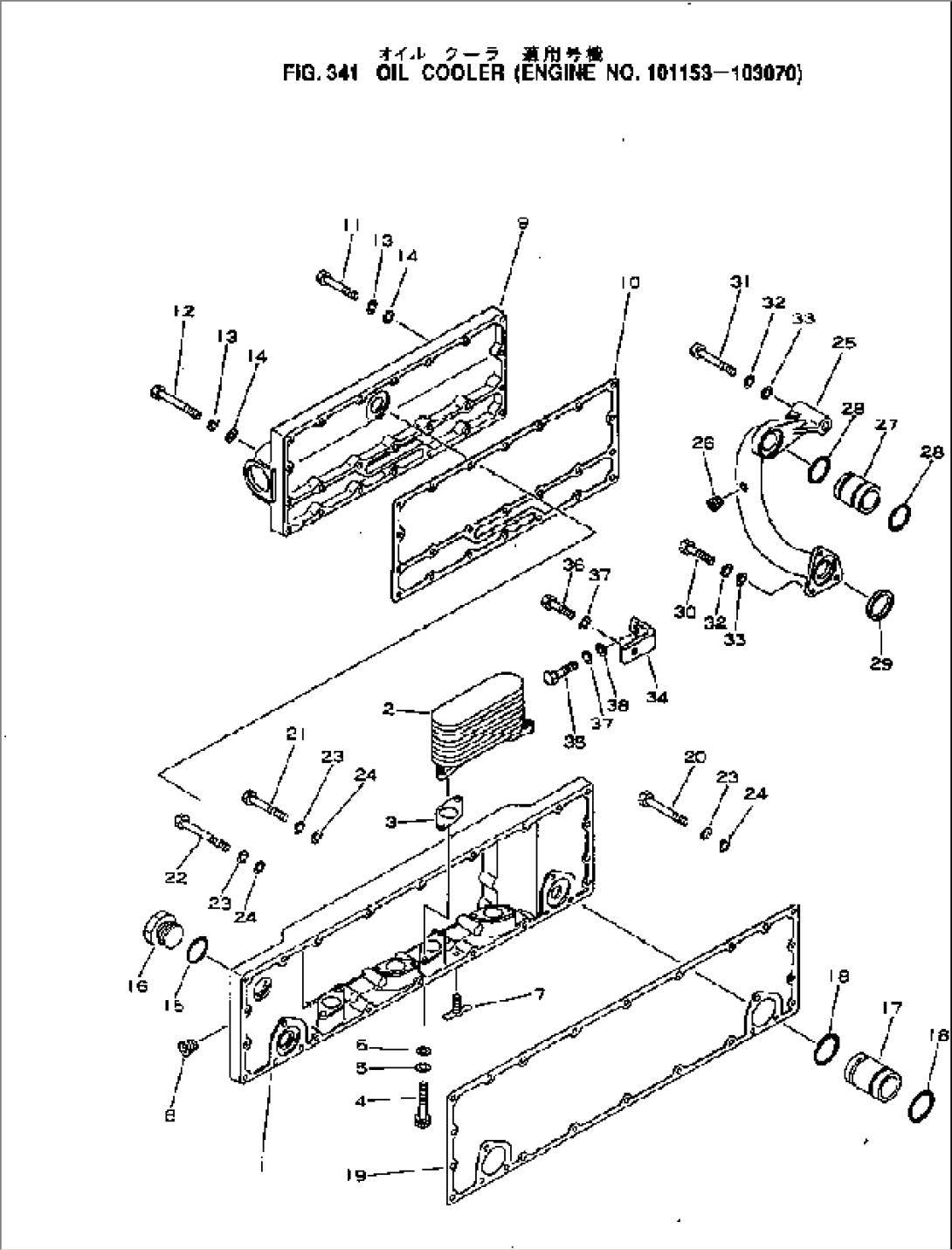
| Item | Part No. | Part Name | Qty | Serial No. |
| CU3004603 | OIL COOLER ASS'Y | 101153-103070 | ||
| 1 | CU206965 | HOUSING | 101153-103070 | |
| 2 | CU3002567 | ELEMENT | .-103070 | |
| 2 | \0\CU206969 | ELEMENT | 101153-. | |
| 3 | CU206973 | GASKET | 101153-103070 | |
| 4 | CUS-103-C | BOLT | 101153-103070 | |
| 5 | 02310-01224 | WASHER,SPRING | 101153-103070 | |
| 6 | CU127362 | WASHER | 101153-103070 | |
| 7 | CUS-923-E | VALVE,DRAIN | 101153-103070 | |
| 8 | 02720-21613 | PLUG | 101153-103070 | |
| 9 | CU206966 | COVER | 101153-103070 | |
| 10 | CU206967 | GASKET | 101153-103070 | |
| 11 | CU108707 | BOLT,(HEXAGON HEAD) | .-103070 | |
| 11 | \0\CU199919 | BOLT,(12 POINT HEAD) | 101153-. | |
| 12 | CU205199 | BOLT,(HEXAGON HEAD) | .-103070 | |
| 12 | \0\CUS-105 | BOLT,(12 POINT HEAD) | 101153-. | |
| 13 | 02310-01224 | WASHER,SPRING | 101153-103070 | |
| 14 | CU127362 | WASHER | 101153-103070 | |
| 15 | CU145540 | O-RING | 101153-103070 | |
| 16 | CU206256 | PLUG | 101153-103070 | |
| 17 | CU205311 | TUBE | 101153-103070 | |
| 18 | CU205899 | O-RING | 101153-103070 | |
| 19 | CU206968 | GASKET | 101153-103070 | |
| 20 | CUS-137 | BOLT,(HEXAGON HEAD) | .-103070 | |
| 20 | \0\CU172640 | BOLT,(12 POINT HEAD) | 101153-. | |
| 21 | CU108707 | BOLT | .-103070 | |
| 21 | \0\CU199919 | BOLT | 101153-. | |
| 22 | CU205275 | BOLT | 101153-103070 | |
| 23 | 02310-01224 | WASHER,SPRING | 101153-103070 | |
| 24 | CU127362 | WASHER | 101153-103070 | |
| 25 | CU206977 | CONNECTOR | .-103070 | |
| 25 | CU3001415 | CONNECTOR | 101153-. | |
| 26 | 02720-00406 | PLUG | 101153-103070 | |
| 27 | CU206974 | TUBE | 101153-103070 | |
| 28 | CU163654 | O-RING | 101153-103070 | |
| 29 | CU206978 | RING | 101153-103070 | |
| 30 | CUS-126 | BOLT | .-103070 | |
| 30 | \0\CU205376 | BOLT | 101153-. | |
| 31 | CUS-105 | BOLT,(HEXAGON HEAD) | .-103070 | |
| 31 | \0\CU205199 | BOLT,(12 POINT HEAD) | 101153-. | |
| 32 | 02310-01224 | WASHER,SPRING | 101153-103070 | |
| 33 | CU127362 | WASHER | 101153-103070 | |
| 34 | CU3001416 | SUPPORT | 101153-103070 | |
| 35 | CUS-103-D | BOLT,(HEXAGON HEAD) | .-103070 | |
| 35 | \0\CU191772 | BOLT,(12 POINT HEAD) | 101153-. | |
| 36 | CUS-104 | BOLT,(HEXAGON HEAD) | .-103070 | |
| 36 | \0\CU205375 | BOLT,(12 POINT HEAD) | 101153-. | |
| 37 | 02310-01224 | WASHER,SPRING | 101153-103070 | |
| 38 | CU127362 | WASHER | 101153-103070 |
