
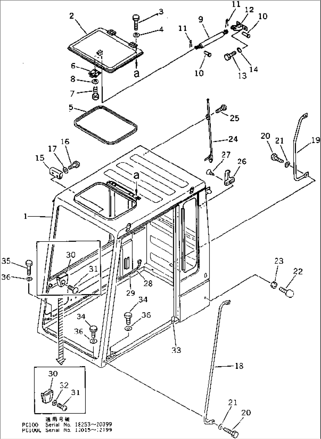
| Item | Part No. | Part Name | Qty | Serial No. |
| 203-54-00302 | OPERATOR'S CAB ASS'Y | 12154-12199 | ||
| \0\203-54-00301 | OPERATOR'S CAB ASS'Y | 12015-12153 | ||
| \0\203-54-00300 | OPERATOR'S CAB ASS'Y | 12001-12014 | ||
| THESE ASSEMBLIES CONSIST OF ALL PARTS SHOWN IN FIGS.5201 TO 5211. | ||||
| 1 | 203-54-43440 | CAB | 12001-12199 | |
| 2 | 203-54-43410 | COVER | 12001-12199 | |
| 3 | 01010-50612 | BOLT | 12001-12199 | |
| 4 | 01643-30623 | WASHER | 12001-12199 | |
| 5 | 203-54-43460 | TRIM,PAD | 12001-@ | |
| 6 | 205-54-66190 | LOCK ASS'Y | 12001-@ | |
| 7 | 01010-50616 | BOLT | 12001-@ | |
| 8 | 01643-30623 | WASHER | 12001-@ | |
| 9 | 205-54-63650 | GAS SPRING ASS'Y | 12001-@ | |
| 10 | 04205-10825 | PIN | 12001-@ | |
| 11 | 04050-12012 | PIN,COTTER | 12001-@ | |
| 12 | 203-54-43640 | BRACKET | 12001-@ | |
| 13 | 01010-50816 | BOLT | 12001-@ | |
| 14 | 01643-30823 | WASHER | 12001-@ | |
| 15 | 205-54-43940 | BRACKET | 12001-@ | |
| 16 | 01010-50616 | BOLT | 12001-@ | |
| 17 | 01643-30623 | WASHER | 12001-@ | |
| 18 | 203-54-43230 | GRIP | 12001-@ | |
| 19 | 203-54-43431 | GRIP | 12015-@ | |
| 203-54-43430 | GRIP | 12001-12014 | ||
| 20 | 01010-51025 | BOLT | 12001-@ | |
| 21 | 01643-31032 | WASHER | 12001-@ | |
| 22 | 09453-00002 | STOPPER | 12001-@ | |
| 23 | 01580-11210 | NUT | 12001-@ | |
| 24 | 205-06-62350 | ANTENNA ASS'Y | 12001-@ | |
| 25 | 01220-40420 | SCREW | 12001-@ | |
| 26 | 205-54-51250 | HANGER | 12001-@ | |
| 27 | 01381-10420 | SCREW | 12001-@ | |
| 28 | 203-06-41710 | WIRE | 12001-@ | |
| 29 | 205-54-72710 | CLIP | 12001-@ | |
| 30 | 201-54-23221 | ASHTRAY | 12015-12199 | |
| 203-54-43840 | ASHTRAY | 12001-12014 | ||
| 31 | 01370-00410 | SCREW | 12015-12199 | |
| 01370-00510 | SCREW | 12001-12014 | ||
| 32 | 01611-04045 | WASHER | 12015-12199 | |
| 33 | 203-54-44980 | RUBBER | 12001-@ | |
| 34 | 01010-51245 | BOLT | 12001-@ | |
| 35 | 01010-51265 | BOLT | 12001-@ | |
| 36 | 01643-31232 | WASHER | 12001-@ |
