
| Item | Part No. | Part Name | Qty | Serial No. |
| (205-54-00161) | OPERATOR'S CAB ASS'Y | 11001- | ||
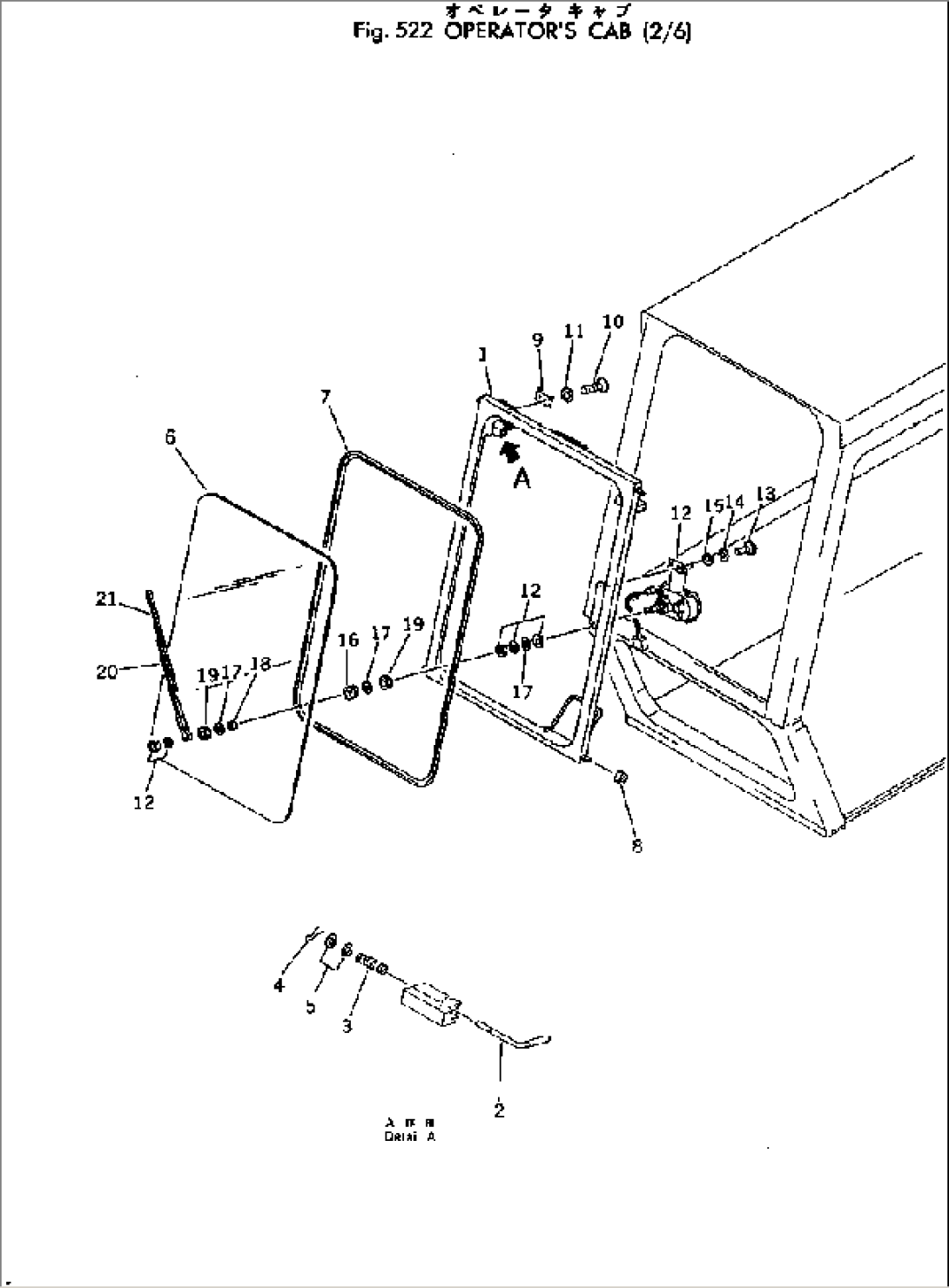
| 205-54-00170 | FRONT WINDOW ASS'Y | 11001- | ||
| 1 | 205-54-66141 | WINDOW | 11001- | |
| 2 | 205-54-66211 | PIN,LOCK | 11001- | |
| 3 | 205-54-66330 | SPRING | 11001- | |
| 4 | 04050-13018 | PIN,COTTER | 11001- | |
| 5 | 01641-21016 | WASHER | 11001- | |
| 6 | 205-54-66340 | GLASS | 11001- | |
| 7 | 205-54-66350 | STRIP,WEATHER | 11001- | |
| 8 | 205-54-66240 | ROLLER | 11001- | |
| 9 | 566-54-24511 | STRIKER | 11001- | |
| 10 | 01224-40820 | SCREW | 11001- | |
| 11 | 205-54-53730 | WASHER | 11001- | |
| 12 | 205-06-62210 | WIPER MOTOR ASS'Y | 11001- | |
| 13 | 01220-40516 | SCREW | 11001- | |
| 14 | 01601-20513 | WASHER,SPRING | 11001- | |
| 15 | 01641-20508 | WASHER | 11001- | |
| 16 | 205-06-62230 | GROMMET | 11001- | |
| 17 | 205-06-62270 | WASHER | 11001- | |
| 18 | 205-06-62240 | COLLAR | 11001- | |
| 19 | 205-06-62250 | NUT | 11001- | |
| 20 | 205-06-62560 | ARM | 11001- | |
| 21 | 205-06-62570 | BLADE | 11001- |
