
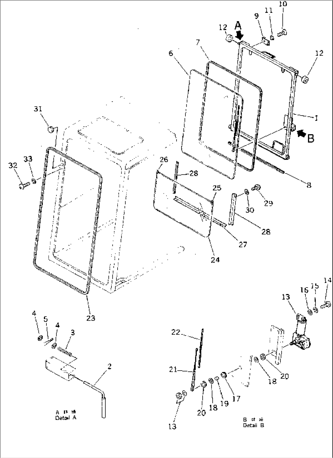
| Item | Part No. | Part Name | Qty | Serial No. |
| (205-966-0051) | OPERATOR'S CAB ASS'Y | 3501- | ||
| 205-54-00261 | FRONT WINDOW ASS'Y | 3501- | ||
| 1 | 205-54-71132 | WINDOW,FRONT | 3501- | |
| 2 | 205-54-72650 | PIN | 3501- | |
| 3 | 205-54-66330 | SPRING | 3501- | |
| 4 | 01641-21016 | WASHER | 3501- | |
| 5 | 04050-13018 | PIN,COTTER | 3501- | |
| 6 | 205-54-71211 | GLASS | 3501- | |
| 7 | 205-54-71520 | STRIP,WEATHER | 3501- | |
| 8 | 205-54-71621 | SEAL | 3501- | |
| 9 | 205-54-72570 | STRIKER | 3501- | |
| 10 | 01224-40820 | SCREW | 3501- | |
| 11 | 205-54-72750 | WASHER,LOCK | 3501- | |
| 12 | 205-54-72590 | ROLLER | 3501- | |
| 13 | 205-06-71410 | WIPER MOTOR ASS'Y | 3501- | |
| 14 | 01220-40516 | SCREW | 3501- | |
| 15 | 01601-20513 | WASHER,SPRING | 3501- | |
| 16 | 01641-20508 | WASHER | 3501- | |
| 17 | 205-06-62230 | GROMMET | 3501- | |
| 18 | 205-06-62270 | WASHER | 3501- | |
| 19 | 205-06-62240 | COLLAR | 3501- | |
| 20 | 205-06-62250 | NUT | 3501- | |
| 21 | 205-06-71420 | ARM | 3501- | |
| 21A | ND857199-0100 | PIN KIT | 3501- | |
| 22 | 205-06-62570 | BLADE | 3501- | |
| 23 | 205-54-71510 | TRIM | 3501- | |
| 24 | 205-54-76310 | GLASS ASS'Y | 3501- | |
| 25 | 205-54-72721 | SEAL,L.H. | 3501- | |
| 26 | 205-54-72731 | SEAL,R.H. | 3501- | |
| 27 | 205-54-72623 | BRACKET | 3501- | |
| 28 | 205-54-73370 | BRACKET | 3501- | |
| 29 | 01220-40616 | SCREW | 3501- | |
| 30 | 01643-30623 | WASHER | 3501- | |
| 31 | 09415-01008 | CAP | 3501- | |
| 32 | 01220-40412 | SCREW | 3501- | |
| 33 | 01601-20410 | WASHER,SPRING | 3501- |
