
| Item | Part No. | Part Name | Qty | Serial No. |
| (20U-54-00012) | OPERATOR'S CAB ASS'Y | 3401- | ||
| (20U-54-00011) | OPERATOR'S CAB ASS'Y | 2479-3400 | ||
| (20U-54-00010) | OPERATOR'S CAB ASS'Y | 1001-2478 | ||
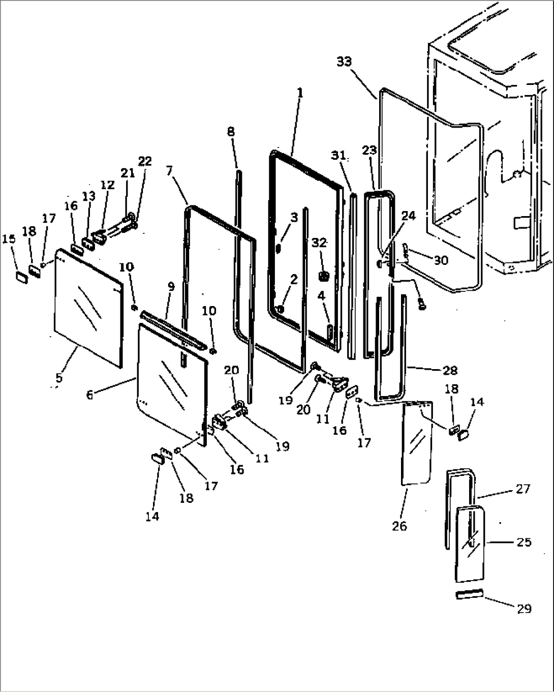
| 21W-54-14410 | SASH ASS'Y | 1001- | ||
| 1 | 21W-54-14420 | SASH SUB ASS'Y | 1001- | |
| 2 | 21W-54-14680 | STOPPER | 1001- | |
| 3 | 20T-54-32890 | CATCH | 1001- | |
| 4 | 20T-54-32920 | STOPPER | 1001- | |
| 5 | 21W-54-14430 | GLASS | 1001- | |
| 6 | 21W-54-14440 | GLASS | 1001- | |
| 7 | 21W-54-14460 | STRIP,WEATHER | 1001- | |
| 8 | 21W-54-14471 | STRIP,WEATHER | 1001- | |
| 9 | 21W-54-14490 | SASH | 1001- | |
| 10 | 21W-54-14660 | RUBBER | 1001- | |
| 11 | 20T-54-32810 | LOCK ASS'Y,L.H. | 1001- | |
| 12 | 20T-54-32820 | LOCK ASS'Y,R.H. | 1001- | |
| 13 | 21W-54-15110 | PLATE,SPACER | 1001- | |
| 14 | 20T-54-32760 | RETAINER,L.H. | 1001- | |
| 15 | 20T-54-32770 | RETAINER,R.H. | 1001- | |
| 16 | 20T-54-32750 | PACKING¤ 2.0MM | 1001- | |
| 17 | 20T-54-32780 | PACKING | 1001- | |
| 18 | 20T-54-32870 | PACKING¤ 1.0MM | 1001- | |
| 19 | 21W-54-15120 | SCREW | 1001- | |
| 20 | 21W-54-15130 | SCREW | 1001- | |
| 21 | 21W-54-15140 | SCREW | 1001- | |
| 22 | 21W-54-15150 | SCREW | 1001- | |
| 23 | 21W-54-14860 | SASH SUB ASS'Y | 1001- | |
| 24 | 20T-54-32890 | CATCH | 1001- | |
| 25 | 21W-54-14450 | GLASS | 1001- | |
| 26 | 21W-54-14970 | GLASS | 1001- | |
| 27 | 21W-54-14480 | STRIP,WEATHER | 1001- | |
| 28 | 21W-54-14980 | STRIP,WEATHER | 1001- | |
| 29 | 21W-54-14960 | SASH | 1001- | |
| 30 | 21W-54-14670 | PLATE | 1001- | |
| 31 | 21W-54-14850 | SASH | 1001- | |
| 32 | 08037-02512 | GROMMET | 1001- | |
| 33 | 21W-54-14630 | STRIP,WEATHER | 1001- |
