
| Item | Part No. | Part Name | Qty | Serial No. |
| (20Y-54-K1401) | OPERATOR'S CAB ASS'Y | K20245- | ||
| (20Y-54-K1400) | OPERATOR'S CAB ASS'Y | .-K20244 | ||
| (20Y-54-K1100) | OPERATOR'S CAB ASS'Y | K20001-. | ||
| THESE ASSEMBLIES CONSIST OF ALL PARTS SHOWN IN FIGS.5201 TO 5206. | ||||
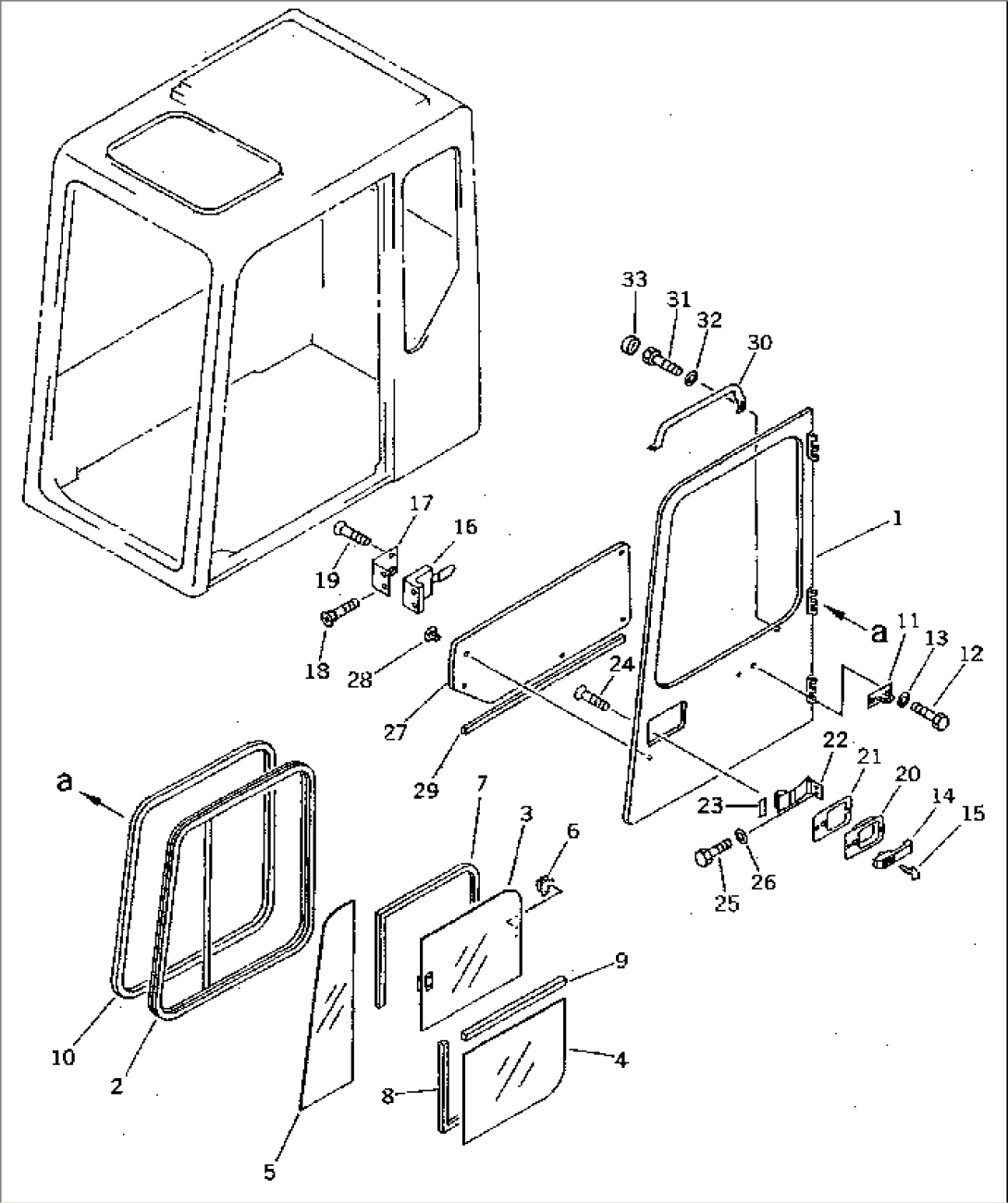
| 20Y-54-K1830 | DOOR ASS'Y | K20001- | ||
| 1 | 20Y-54-K1450 | DOOR | K20001- | |
| 20Y-54-K1460 | WINDOW ASS'Y | K20001- | ||
| 2 | 20Y-54-K2760 | SASH | K20001- | |
| 3 | 20Y-54-K2780 | GLASS,UPPER | K20001- | |
| 4 | 20Y-54-K2770 | GLASS,LOWER | K20001- | |
| 5 | 20Y-54-K2790 | GLASS,SIDE | K20001- | |
| 6 | 20Y-54-K2810 | CATCH | K20001- | |
| 7 | 20Y-54-K4250 | SEAL,UPPER | K20001- | |
| 8 | 20Y-54-K4260 | SEAL,LOWER | K20001- | |
| 9 | 20Y-54-K4270 | SEAL | K20001- | |
| 10 | 20Y-54-K1470 | SEAL,GLAZING | K20001- | |
| 11 | 20Y-54-K1481 | BRACKET | K20001- | |
| 12 | 20Y-54-K4350 | BOLT | K20001- | |
| 13 | 20Y-54-K4360 | WASHER | K20001- | |
| 14 | 20Y-54-K4280 | HANDLE | K20001- | |
| 15 | 20Y-54-K4240 | KEY | K20001- | |
| 16 | 20Y-54-K1590 | CATCH,LOCK | K20001- | |
| 17 | 20Y-54-K1610 | PLATE | K20001- | |
| 18 | 01224-40625 | SCREW | K20001- | |
| 19 | 01224-40620 | SCREW | K20001- | |
| 20 | 20Y-54-K1490 | PLATE | K20001- | |
| 21 | 20Y-54-K1520 | SEAL,RUBBER | K20001- | |
| 22 | 20Y-54-K1570 | PLATE | K20001- | |
| 23 | 20Y-54-K1580 | STRIP,FOAM | K20001- | |
| 24 | 20Y-54-K1510 | SCREW | K20001- | |
| 25 | 01016-20515 | BOLT | K20001- | |
| 26 | 01641-20508 | WASHER | K20001- | |
| 27 | 20Y-54-K1540 | LINING | K20001- | |
| 28 | 20Y-54-K1550 | BUTTON | K20001- | |
| 29 | 20Y-54-K4010 | SHEET | K20001- | |
| 30 | 20Y-54-K1560 | HANDLE | K20001- | |
| 31 | 01010-50820 | BOLT | K20001- | |
| 32 | 01641-20812 | WASHER | K20001- | |
| 33 | 20Y-54-K3420 | CAP | K20001- |
