
| Item | Part No. | Part Name | Qty | Serial No. |
| (209-54-00360) | OPERATOR'S CAB ASS'Y | 11001- | ||
| (209-54-00312) | OPERATOR'S CAB ASS'Y | 10025-10999 | ||
| (\0\209-54-00311) | OPERATOR'S CAB ASS'Y | 10001-10024 | ||
| (207-54-00350) | OPERATOR'S CAB ASS'Y | 11001- | ||
| (209-54-00322) | OPERATOR'S CAB ASS'Y | 10025-10999 | ||
| (\0\209-54-00321) | OPERATOR'S CAB ASS'Y | 10001-10024 | ||
| (21M-54-00050) | OPERATOR'S CAB ASS'Y | 11001- | ||
| (209-54-00331) | OPERATOR'S CAB ASS'Y | 10061-10999 | ||
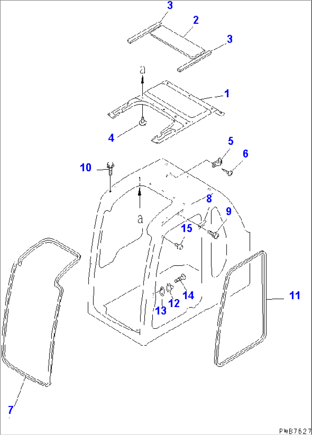
| 1 | 20Y-54-35312 | COVER | 10001- | |
| 2 | 20Y-54-36420 | SHEET | 10001- | |
| 3 | 20Y-54-36430 | SHEET | 10001-10067 | |
| 4 | 20Y-54-18690 | RIVET | 11105- | |
| 4 | 20Y-54-18690 | RIVET | 10068-11104 | |
| 4 | 20Y-54-18690 | RIVET | 10001-10067 | |
| 5 | 205-54-51250 | HANGER | 10001- | |
| 6 | 01370-10412 | SCREW | 10001- | |
| 7 | 20Y-54-35492 | TRIM | 10001- | |
| 8 | 20Y-54-35290 | STAY | 10001- | |
| 9 | 01023-10612 | SCREW | 10001- | |
| 10 | 01435-40816 | BOLT | 10153- | |
| 10 | 01435-30816 | BOLT | 10001-10152 | |
| 11 | 20Y-54-36260 | TRIM | 10068- | |
| 11 | 20Y-54-35380 | TRIM | 10001-10067 | |
| 12 | 20Y-54-35470 | STRIKER | 10001- | |
| 13 | 20Y-54-35480 | SHIM, 1.6MM | 10001- | |
| 14 | 01240-01025 | SCREW | 10001- | |
| 15 | 20Y-54-35780 | STOPPER | 10001- |
