
| Item | Part No. | Part Name | Qty | Serial No. |
| (20G-54-K1401) | OPERATOR'S CAB ASS'Y | K20001- | ||
| THIS ASSEMBLY CONSISTS OF ALL PARTS SHOWN IN FIGS.5200 TO 5205. | ||||
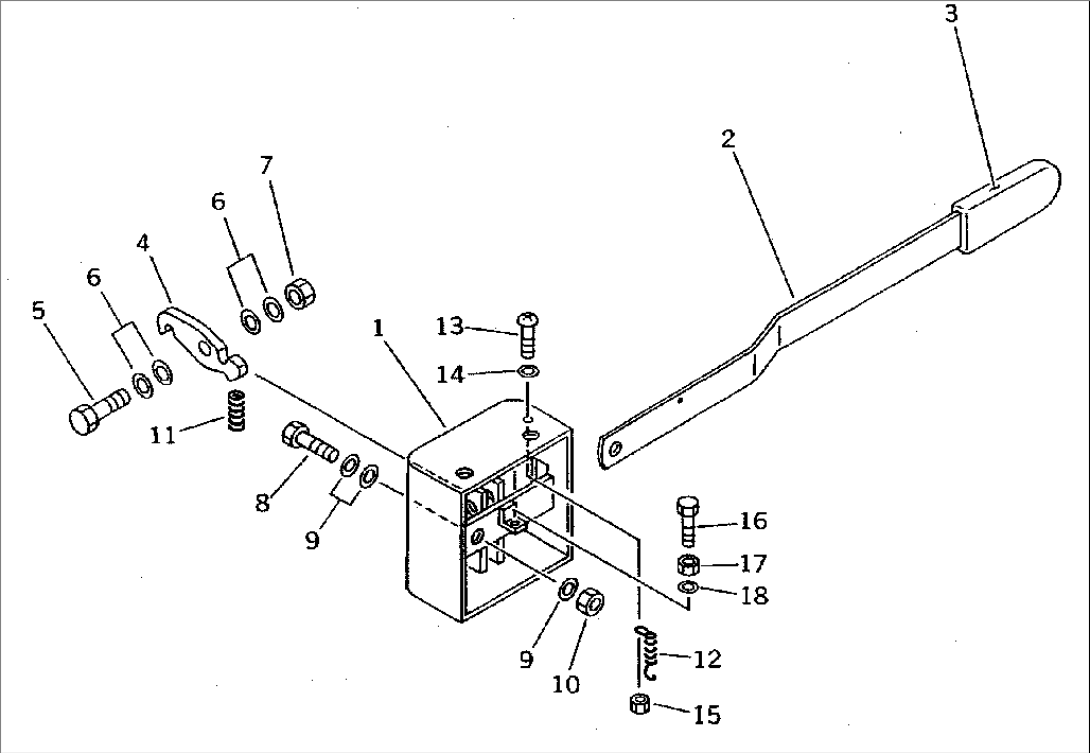
| 20Y-54-K1330 | LOCK BACK ASS'Y | K20001- | ||
| 1 | 20Y-54-K1250 | HOUSING | K20001- | |
| 2 | 20Y-54-K1260 | HANDLE | K20001- | |
| 3 | 20Y-54-K1270 | GRIP,HANDLE | K20001- | |
| 4 | 20Y-54-K1280 | HOOK | K20001- | |
| 5 | 01010-81040 | BOLT | K20001- | |
| 6 | 01641-21016 | WASHER | K20001- | |
| 7 | 01598-01011 | NUT,LOCK | K20001- | |
| 8 | 01010-50825 | BOLT | K20001- | |
| 9 | 01641-20812 | WASHER | K20001- | |
| 10 | 01598-00809 | NUT,LOCK | K20001- | |
| 11 | 20Y-54-K1310 | SPRING | K20001- | |
| 12 | 20Y-54-K1290 | SPRING | K20001- | |
| 13 | 20Y-54-K2590 | SCREW | K20001- | |
| 14 | 01641-20608 | WASHER | K20001- | |
| 15 | 01598-00608 | NUT,LOCK | K20001- | |
| 16 | 01010-50635 | BOLT | K20001- | |
| 17 | 01580-10605 | NUT | K20001- | |
| 18 | 01641-20608 | WASHER | K20001- |
