
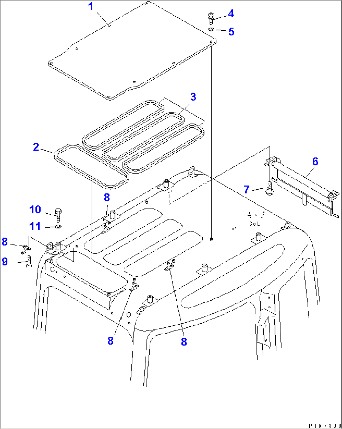
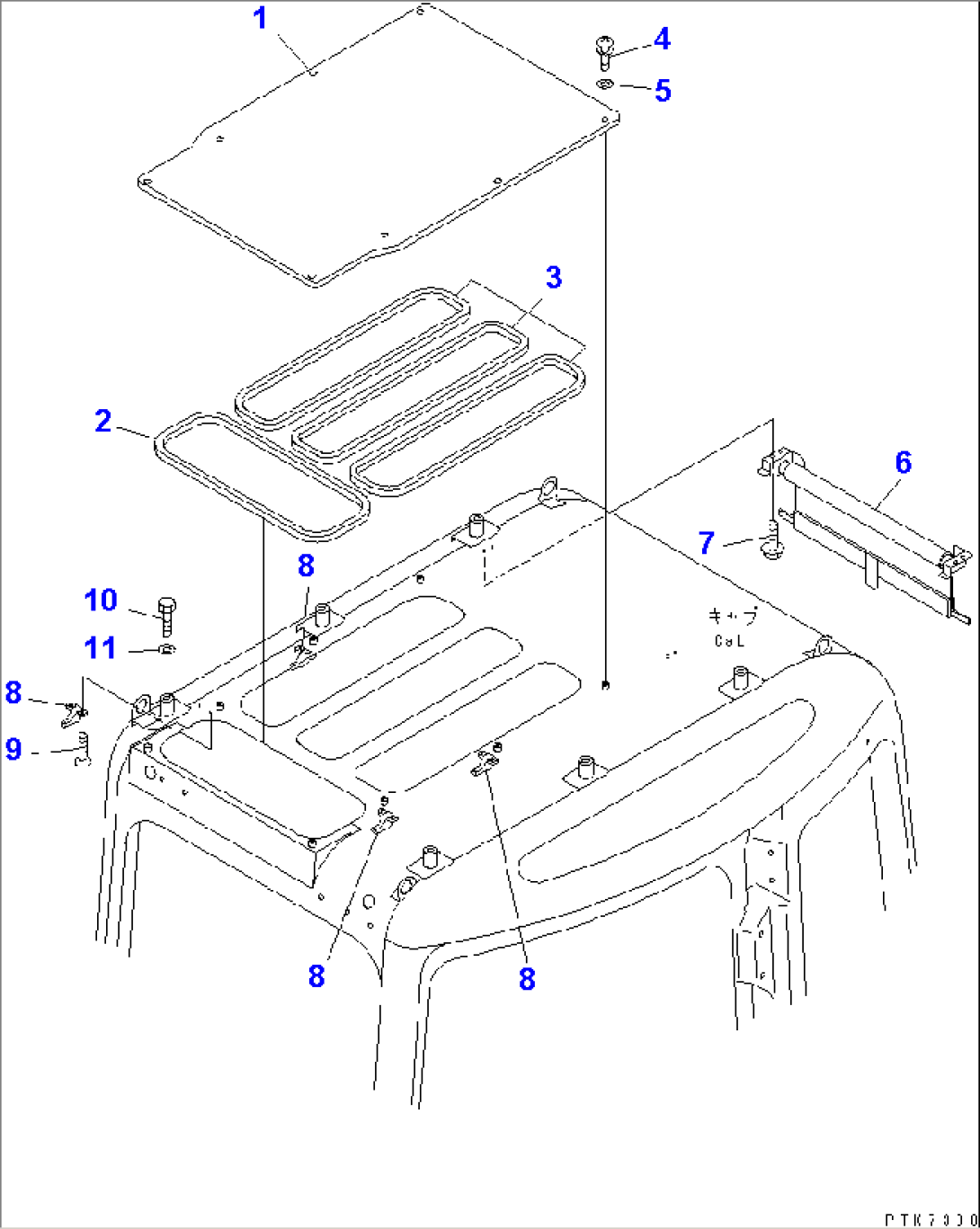
| Item | Part No. | Part Name | Qty | Serial No. |
| 1 | 22B-54-14830 | CLEAR PLATE | 15321- | |
| 2 | 22U-54-14821 | DAM | 15321- | |
| 3 | 22U-54-14831 | DAM | 15321- | |
| 4 | 01023-20612 | SCREW | 15321- | |
| 5 | 175-43-34720 | WASHER | 15321- | |
| 6 | 21J-54-16590 | CURTAIN ASS'Y | 15321- | |
| 7 | 01435-40612 | BOLT | 15321- | |
| 8 | 205-54-51250 | HANGER | 15321- | |
| 9 | 01225-70412 | SCREW | 15321- | |
| 10 | 01010-D1220 | BOLT | 15321- | |
| 11 | 01643-71232 | WASHER | 15321- |
