
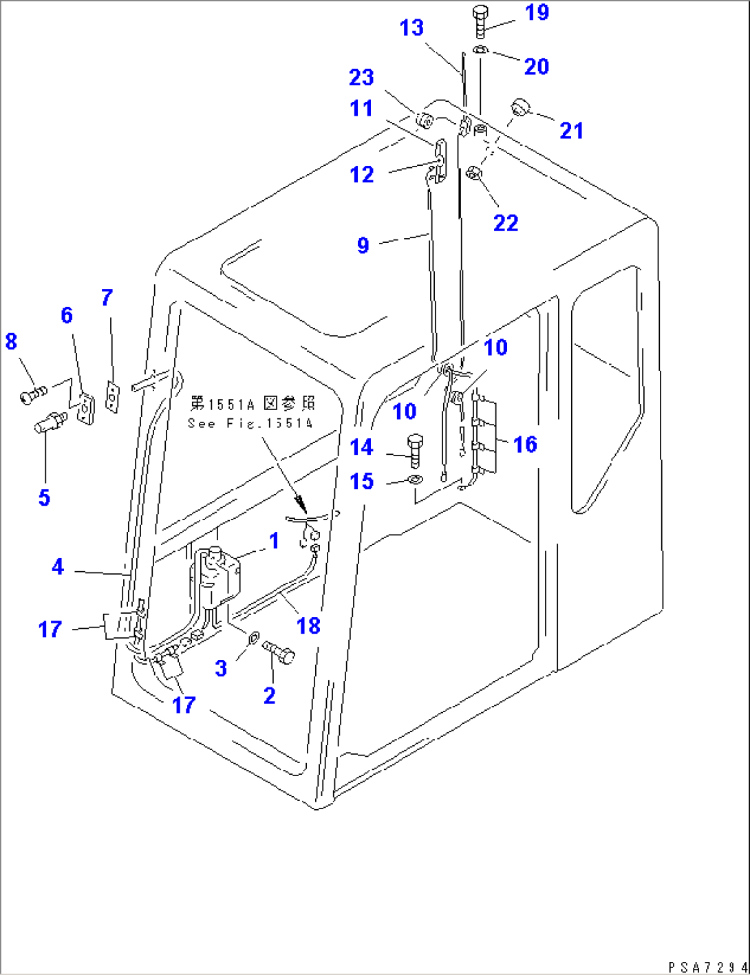
| Item | Part No. | Part Name | Qty | Serial No. |
| (20Y-54-K1401) | OPERATOR'S CAB ASS'Y | K20392- | ||
| THIS ASSEMBLY CONSISTS OF ALL PARTS SHOWN IN FIGS.5201B TO 5206. | ||||
| 1 | 20Y-54-K2150 | WASHER TANK ASS'Y,WITH MOTOR | K20001- | |
| 2 | 01016-20512 | BOLT | K20001- | |
| 3 | 01641-20508 | WASHER | K20001- | |
| 4 | 20Y-54-K2160 | TUBE | K20001- | |
| 5 | 20Y-54-K2350 | NOZZLE | K20001- | |
| 6 | 20Y-54-K2360 | HOLDER | K20001- | |
| 7 | 20Y-54-K2370 | SEAL | K20001- | |
| 8 | 20Y-54-K2380 | SCREW | K20001- | |
| 9 | 20Y-54-K2170 | CABLE | K20001- | |
| 10 | 20Y-54-K2180 | GROMMET | K20001- | |
| 11 | 20Y-54-K2260 | LAMP,ROOM | K20001- | |
| 12 | 20Y-54-K2630 | BULB | K20001- | |
| 13 | 20Y-54-K2460 | ANTENNA | K20001- | |
| 14 | 01010-50812 | BOLT | .- | |
| 15 | 01641-20812 | WASHER | .- | |
| 16 | 20Y-54-K3260 | CLIP | .- | |
| 17 | 20Y-54-K1790 | COVER | .- | |
| 18 | 20Y-06-K1252 | WIRING HARNESS | K20393- | |
| 19 | 01010-50812 | BOLT | K20393- | |
| 20 | 01641-20812 | WASHER | K20393- | |
| 21 | 20Y-54-K6220 | CLAMP | K20393- | |
| 22 | 20Y-54-K3270 | NUT | K20393- | |
| 23 | 20Y-54-K6230 | GROMMET | K20393- |
