
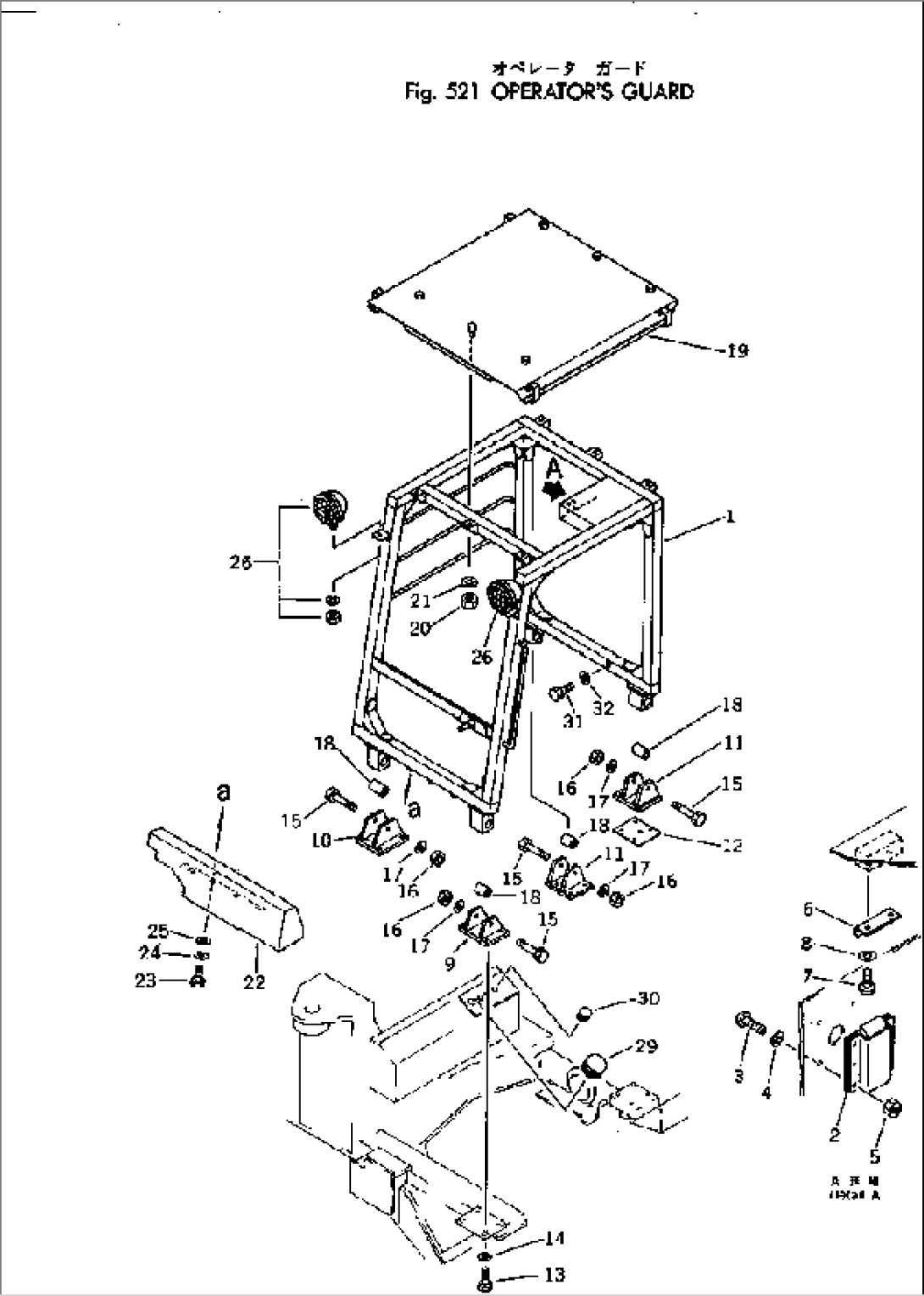
| Item | Part No. | Part Name | Qty | Serial No. |
| 1 | 11T-54-13111 | GUARD | 1001- | |
| 2 | 11T-54-13210 | LOCK | 1001- | |
| 3 | 01220-30410 | SCREW | 1001- | |
| 4 | 01601-00410 | WASHER | 1001- | |
| 5 | 01580-10403 | NUT | 1001- | |
| 6 | 11T-54-13220 | PLATE | 1001- | |
| 7 | 01220-30408 | SCREW | 1001- | |
| 8 | 01601-00410 | WASHER | 1001- | |
| 9 | 11T-54-13140 | BRACKET | 1001- | |
| 10 | 11T-54-13151 | BRACKET | 1001- | |
| 11 | 11T-54-13160 | BRACKET | 1001- | |
| 12 | 11T-911-1140 | SPACER | 1001- | |
| 13 | 01010-31445 | BOLT | 1001- | |
| 14 | 01643-31445 | WASHER | 1001- | |
| 15 | 141-978-2150 | BOLT | 1001- | |
| 16 | 175-978-3210 | NUT | 1001- | |
| 17 | 01643-32780 | WASHER | 1001- | |
| 18 | 195-978-1311 | ISOLATOR | 1001- | |
| 19 | 11T-54-13190 | ROOF | 1001- | |
| 20 | 01580-11210 | NUT | 1001- | |
| 21 | 01643-31232 | WASHER | 1001- | |
| 22 | 11T-54-13170 | COVER | 1001- | |
| 23 | 01010-30616 | BOLT | 1001- | |
| 24 | 01602-00619 | WASHER | 1001- | |
| 25 | 01643-30623 | WASHER | 1001- | |
| 26 | 08128-32400 | LAMP | 1001- | |
| 08113-02480 | BULB¤ 80W | 1001- | ||
| 08128-00003 | HOLDER | 1001- | ||
| 08128-00004 | BAND | 1001- | ||
| 27 | 205-06-51390 | CABLE | 1001- | |
| 28 | 11T-06-11571 | WIRE ASS'Y | 1001- | |
| 29 | 09415-01610 | CAP | 1001- | |
| 30 | 09415-00506 | CAP | 1001- | |
| 31 | 01010-30610 | BOLT | 1001- | |
| 32 | 01602-00619 | WASHER | 1001- |
