
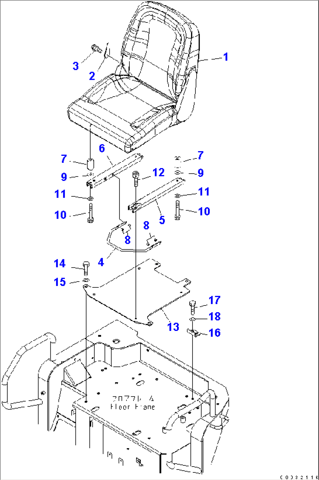
| Item | Part No. | Part Name | Qty | Serial No. |
| 22M-57-21130 | OPERATOR'S SEAT A. | 8001-8727 | ||
| 1 | 22M-57-21150 | SEAT ASS'Y | 8001-@ | |
| 2 | GRS57503030 | KNOB | 8001-@ | |
| 3 | 01023-10510 | SCREW | 8001-@ | |
| 4 | 22M-57-21160 | LEVER | 8001-@ | |
| 5 | 22M-57-21170 | ADJUSTER,L.H. | 8001-@ | |
| 6 | 22M-57-21180 | ADJUSTER,R.H. | 8001-@ | |
| 7 | 22M-57-21190 | SEAT | 8001-@ | |
| 8 | 22M-43-21410 | NUT | 8001-@ | |
| 9 | 22M-57-21440 | SPACER | 8001-@ | |
| 10 | 22M-57-21530 | BOLT | 8001-@ | |
| 11 | 22M-57-21430 | WASHER | 8001-@ | |
| 12 | 01252-70816 | BOLT | 8001-@ | |
| 13 | 22M-57-21281 | PLATE | 8001-8727 | |
| 14 | 01010-D1020 | BOLT | 8001-@ | |
| 15 | 01643-71032 | WASHER | 8001-@ | |
| 16 | 22M-57-21212 | STOPPER | 8001-@ | |
| 17 | 01010-D1020 | BOLT | 8001-@ | |
| 18 | 01643-71032 | WASHER | 8001-@ |
