
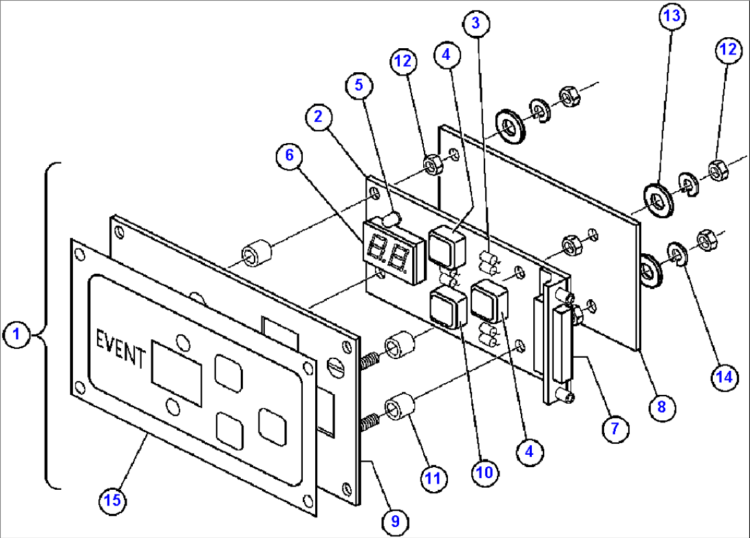
| Item | Part No. | Part Name | Qty | Serial No. |
| 1 | PB8056 | PANEL - DISPLAY EVENT | ||
| 2 | VE8168 | MODULE | ||
| 3 | VE8169 | RESISTOR - 1/8" WATT, 150 OHM | ||
| 4 | VE8170 | SWITCH ASSEMBLY - RED CAP | ||
| 5 | VE8171 | LED, GREEN | ||
| 6 | VE8172 | LED DISPLAY | ||
| 7 | VE8173 | RECEPTACLE/HARDWARE | ||
| 8 | VE8174 | BASE | ||
| 9 | VE8175 | COVER/STUD | ||
| 10 | BF4838 | SWITCH ASSEMBLY - GREEN CAP | ||
| 11 | BF3094 | SPACER | ||
| 12 | BF3095 | NUT | ||
| 13 | HE5125 | FLAT WASHER - #6 | ||
| 14 | VE8178 | LOCKWASHER - #6 (INTERNAL TOOTH) | ||
| 15 | VE8992 | DECAL |
