Ваш браузер устарел. Этот сайт может работать неполноценно или выглядеть сломанным. Обновите ваш браузер, если можете.

Поиск по каталогу

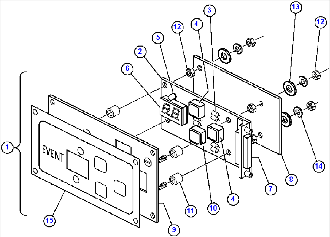
PANEL - DISPLAY EVENT (PB8056)

PANEL - DISPLAY EVENT (PB8056)
ItemPart No.Part NameQtySerial No.
1PB8056PANEL - DISPLAY EVENT
2VE8168MODULE
3VE8169RESISTOR - 1/8" WATT, 150 OHM
4VE8170SWITCH ASSEMBLY - RED CAP
5VE8171LED, GREEN
6VE8172LED DISPLAY
7VE8173RECEPTACLE / HARDWARE
8VE8174BASE
9VE8175COVER / STUD
10BF4838SWITCH ASSEMBLY - GREEN CAP
11BF3094SPACER
12BF3095NUT
13HE5125FLAT WASHER - #6
14VE8178LOCKWASHER - #6 (INTERNAL TOOTH)
15VE8992DECAL
Вернуться в каталог

Заявка

Обратная связь