
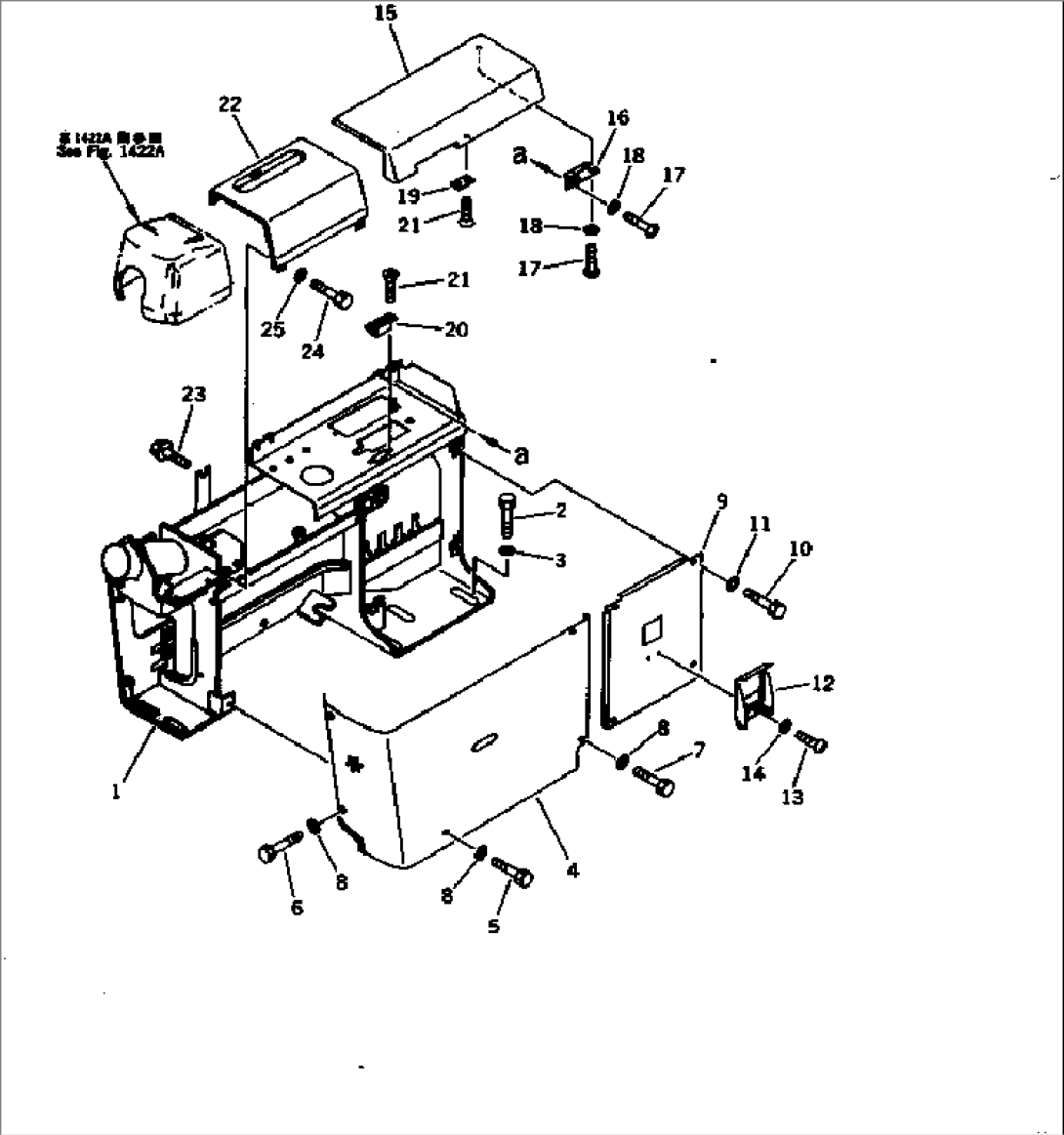
Item | Part No. | Part Name | Qty | Serial No. |
1 | 20Y-43-17210 | BRACKET | 35001-36613 | |
2 | 01010-51225 | BOLT | 35001-@ | |
3 | 20Y-54-12670 | WASHER | 35001-@ | |
4 | 20Y-43-15292 | COVER | 35001-@ | |
5 | 01010-50616 | BOLT | 35001-@ | |
6 | 20Y-43-15460 | BOLT | 35001-@ | |
7 | 01010-50620 | BOLT | 35001-@ | |
8 | 01643-30623 | WASHER | 35001-@ | |
9 | 20Y-43-17130 | COVER | 35001-@ | |
10 | 01010-50620 | BOLT | 35001-@ | |
11 | 01643-30623 | WASHER | 35001-@ | |
12 | 20Y-43-16250 | COVER | 35001-@ | |
13 | 01220-40408 | SCREW | 35001-@ | |
14 | 01641-20405 | WASHER | 35001-@ | |
15 | 203-54-56531 | COVER | 35001-@ | |
16 | 20Y-06-16350 | HINGE | 35001-@ | |
17 | 01220-70510 | SCREW | 35001-@ | |
18 | 01642-40508 | WASHER | 35001-@ | |
19 | 203-54-51550 | PLATE | 35001-@ | |
20 | 203-54-51540 | MAGNET | 35001-@ | |
21 | 01224-40306 | SCREW | 35001-@ | |
22 | 20Y-43-17121 | COVER | 35001-36613 | |
23 | 01435-00620 | BOLT | 35001-@ | |
24 | 01010-50620 | BOLT | 35001-@ | |
25 | 01643-30623 | WASHER | 35001-@ |