
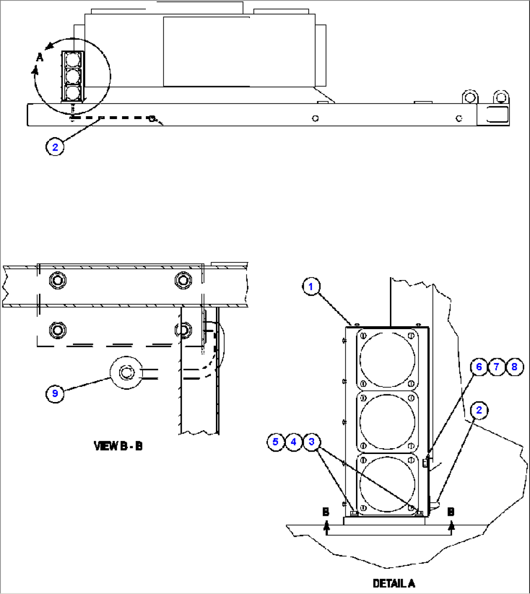
| Item | Part No. | Part Name | Qty | Serial No. |
| 1 | EL4747 | INDICATOR LIGHT ASSEMBLY - PLM III (SEE FIG 55692) | ||
| 2 | EL0393 | HARNESS - R.H. PLM LIGHT | ||
| 3 | MM0461 | FLAT WASHER - M10 | ||
| 4 | MM0471 | LOCKWASHER - M10 | ||
| 5 | MM0605 | CAPSCREW - M10 X 1.50 X 25 | ||
| 6 | C1521 | NUT - 3/8" - 16NC | ||
| 7 | C1547 | FLAT WASHER - 3/8" | ||
| 8 | TG2562 | CLAMP, VINYL - 1/2" | ||
| 9 | VC6041 | GROMMET, RUBBER |
