
| Item | Part No. | Part Name | Qty | Serial No. |
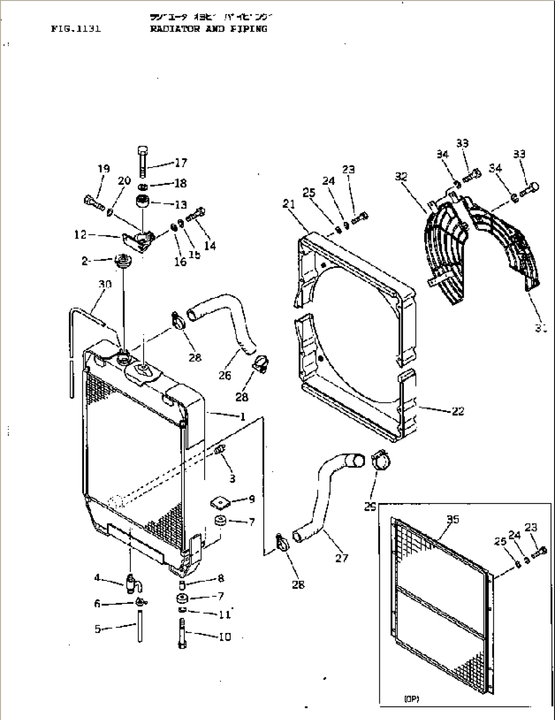
| 120-03-00011 | RADIATOR ASS'Y | 6001- | ||
| 1 | \6\ | CORE | 6001- | |
| 2 | 113-03-21240 | CAP | 6001- | |
| 3 | 07042-00415 | PLUG | 6001- | |
| 4 | 07730-20004 | VALVE | 6001- | |
| 5 | 07270-01520 | TUBE | 6001- | |
| 6 | 07280-01920 | CLAMP | 6001- | |
| 7 | 113-03-21160 | SEAT | 6001- | |
| 8 | 113-03-21170 | SPACER | 6001- | |
| 9 | 113-03-21180 | PLATE | 6001- | |
| 10 | 01010-31070 | BOLT | 6001- | |
| 11 | 01602-01030 | WASHER,SPRING | 6001- | |
| 12 | 113-03-21190 | BRACKET | 6001- | |
| 13 | 135-03-12110 | DAMPER | 6001- | |
| 14 | 01010-31035 | BOLT | 6001- | |
| 15 | 01602-01030 | WASHER,SPRING | 6001- | |
| 16 | 01643-31032 | WASHER | 6001- | |
| 17 | 01010-31460 | BOLT | 6001- | |
| 18 | 01602-01442 | WASHER,SPRING | 6001- | |
| 19 | 01010-31035 | BOLT | 6001- | |
| 20 | 01643-31032 | WASHER | 6001- | |
| 21 | 120-03-32122 | SHROUD,UPPER | 6001- | |
| 22 | 120-03-32132 | SHROUD,LOWER | 6001- | |
| 23 | 01010-30816 | BOLT | 6001- | |
| 01010-30820 | BOLT,(FOR CORE GRID) | 6001- | ||
| 24 | 01602-00825 | WASHER,SPRING | 6001- | |
| 25 | 01643-30823 | WASHER | 6001- | |
| 26 | 120-03-32251 | HOSE,INLET | 6001- | |
| 27 | 120-03-32261 | HOSE,OUTLET | 6001- | |
| 28 | 07281-00709 | CLAMP | 6001- | |
| 29 | 07281-00809 | CLAMP | 6001- | |
| 30 | 113-03-21140 | TUBE | 6001- | |
| 31 | 12F-03-31112 | GUARD | 6001- | |
| 120-Y79-7220 | GUARD,(FOR AIR CONDITIONER TYPE-2) | 6001- | ||
| 32 | 120-03-32152 | GUARD | 6001- | |
| 33 | 01010-31025 | BOLT | 6001- | |
| 34 | 01602-01030 | WASHER,SPRING | 6001- | |
| 35 | 120-03-32281 | CORE GRID,CORE | 6001- |
