
| Item | Part No. | Part Name | Qty | Serial No. |
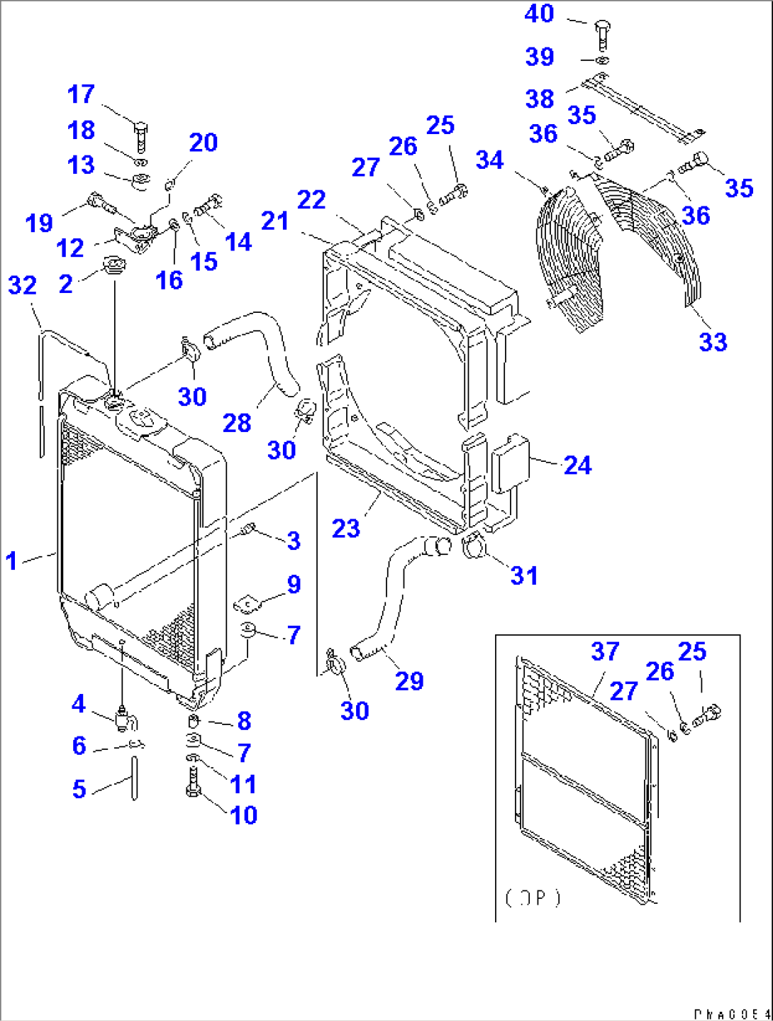
| 1 | 12G-B62-3710 | CORE | 7834- | |
| 2 | 113-03-21240 | CAP | 7834- | |
| 3 | 07042-00415 | PLUG | 7834- | |
| 4 | 07730-40004 | VALVE | 7834- | |
| 5 | 07270-01520 | TUBE | 7834- | |
| 6 | 07280-01920 | CLAMP | 7834- | |
| 7 | 113-03-21160 | SEAT | 7834- | |
| 8 | 113-03-21170 | SPACER | 7834- | |
| 9 | 113-03-21180 | PLATE | 7834- | |
| 10 | 01010-51070 | BOLT | 7834- | |
| 11 | 01602-21030 | WASHER,SPRING | 7834- | |
| 12 | 113-03-21190 | BRACKET | 7834- | |
| 13 | 135-03-12110 | DAMPER | 7834- | |
| 14 | 01010-51235 | BOLT | 7834- | |
| 15 | 01602-21230 | WASHER,SPRING | 7834- | |
| 16 | 01643-31236 | WASHER | 7834- | |
| 17 | 01010-51460 | BOLT | 7834- | |
| 18 | 01602-21442 | WASHER,SPRING | 7834- | |
| 19 | 01010-51035 | BOLT | 7834- | |
| 20 | 01643-31032 | WASHER | 7834- | |
| 21 | 120-03-32122 | SHROUD | 7834- | |
| 22 | 12G-B62-3760 | ABSORBER | 7834- | |
| 23 | 120-03-32132 | SHROUD | 7834- | |
| 24 | 12G-B62-3770 | ABSORBER | 7834- | |
| 25 | 01010-50816 | BOLT | 7834- | |
| 25 | 01010-50820 | BOLT,(FOR CORE GRID) | 7834- | |
| 26 | 01602-20825 | WASHER,SPRING | 7834- | |
| 27 | 01643-30823 | WASHER | 7834- | |
| 28 | 120-03-32251 | HOSE | 7834- | |
| 29 | 120-03-32262 | HOSE | 7834- | |
| 30 | 208-09-11120 | CLAMP | 7834- | |
| 31 | 208-09-11120 | CLAMP | 7834- | |
| 32 | 113-03-21140 | TUBE | 7834- | |
| 33 | 124-03-31610 | GUARD | 8135- | |
| 34 | 12G-03-31121 | GUARD | 8135- | |
| 35 | 01010-51025 | BOLT | 7834- | |
| 36 | 01602-21030 | WASHER,SPRING | 7834- | |
| 37 | 120-03-32281 | CORE GRID,CORE | 7834- | |
| 38 | 12G-03-31140 | GUARD | 8135- | |
| 39 | 01010-51020 | BOLT | 8135- | |
| 40 | 01602-21030 | WASHER,SPRING | 8135- |
