
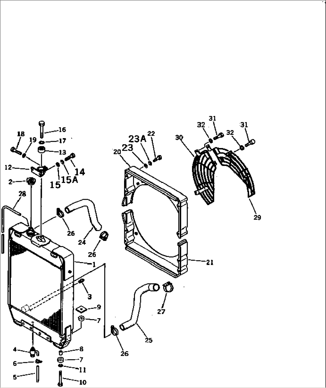
| Item | Part No. | Part Name | Qty | Serial No. | 
| 1 | 120-03-41110 | CORE | 10001-@ | |
| 2 | 113-03-21240 | CAP | 10001-@ | |
| 3 | 07042-00415 | PLUG | 10001-@ | |
| 4 | 07730-40004 | VALVE | 10001-@ | |
| 5 | 07270-01520 | TUBE | 10001-@ | |
| 6 | 07280-01920 | CLAMP | 10001-@ | |
| 7 | 113-03-21160 | SEAT | 10001-@ | |
| 8 | 113-03-21170 | SPACER | 10001-@ | |
| 9 | 113-03-21180 | PLATE | 10001-@ | |
| 10 | 01010-51070 | BOLT | 10001-@ | |
| 11 | 01602-21030 | WASHER,SPRING | 10001-@ | |
| 12 | 113-03-21190 | BRACKET | 10001-@ | |
| 13 | 135-03-12110 | DAMPER | 10001-@ | |
| 14 | 01010-51235 | BOLT | 10001-@ | |
| 15 | 01643-31232 | WASHER | 10001-@ | |
| 15A | 01602-21236 | WASHER,SPRING | 10001-@ | |
| 16 | 01010-51460 | BOLT | 10001-@ | |
| 17 | 01602-21442 | WASHER,SPRING | 10001-@ | |
| 18 | 01010-51035 | BOLT | 10001-@ | |
| 19 | 01643-31032 | WASHER | 10001-@ | |
| 20 | 120-03-41210 | SHROUD,UPPER | 10001-@ | |
| 21 | 120-03-41220 | SHROUD,LOWER | 10001-@ | |
| 22 | 01010-50816 | BOLT | 10001-@ | |
| 23 | 01643-30823 | WASHER | 10001-@ | |
| 23A | 01602-20825 | WASHER,SPRING | 10001-@ | |
| 24 | 120-03-32251 | HOSE,INLET | 10001-@ | |
| 25 | 120-03-32262 | HOSE,OUTLET | 10029-@ | |
| \0\120-03-32261 | HOSE,OUTLET | 10001-10028 | ||
| 26 | 208-09-11120 | CLAMP | 10029-@ | |
| 07281-00709 | CLAMP | 10001-10028 | ||
| 27 | 208-09-11120 | CLAMP | 10029-@ | |
| 07281-00809 | CLAMP | 10001-10028 | ||
| 28 | 113-03-21140 | TUBE | 10001-@ | |
| 29 | 120F-03-41110 | GUARD,FAN | 10001-10270 | |
| 30 | 120-03-41320 | GUARD,FAN | 10001-10270 | |
| 31 | 01010-51025 | BOLT | 10001-@ | |
| 32 | 01643-31032 | WASHER | 10001-@ | 
