
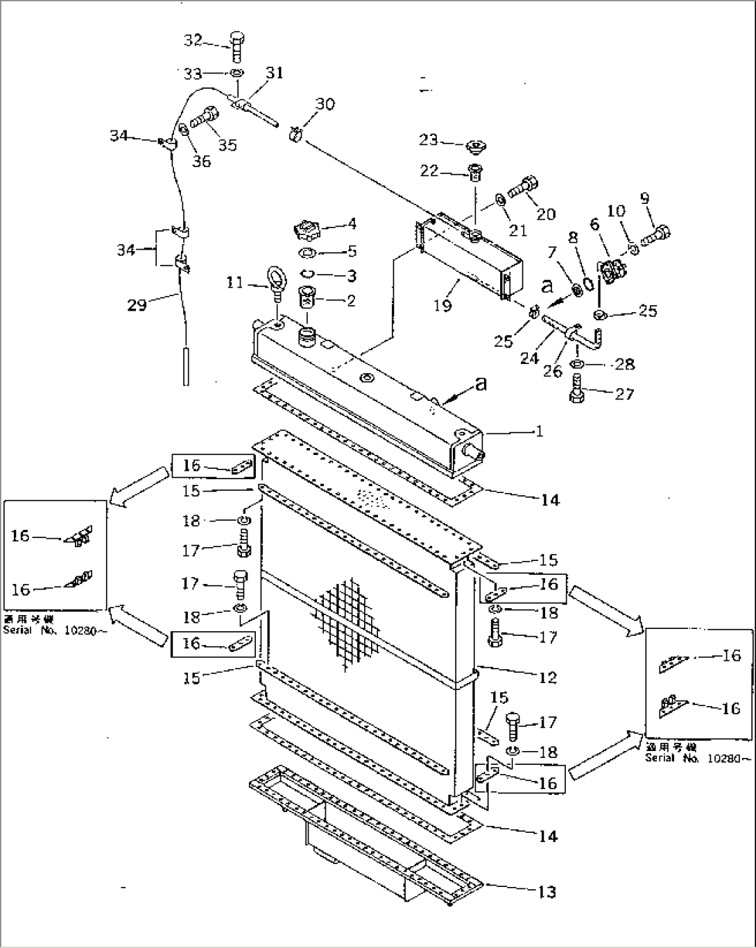
| Item | Part No. | Part Name | Qty | Serial No. |
| 198-03-00322 | RADIATOR ASS'Y | 10350- | ||
| \0\198-03-00321 | RADIATOR ASS'Y | 10280-10349 | ||
| 198-03-00320 | RADIATOR ASS'Y | 10201-10279 | ||
| 1 | 198-03-55120 | TANK,UPPER | 10201- | |
| 2 | 07056-00048 | STRAINER | 10201- | |
| 3 | 07057-03271 | RING,FILLER | 10201- | |
| 4 | 07053-10000 | CAP,RADIATOR | 10201- | |
| 5 | 07053-00002 | GASKET | 10201- | |
| 6 | 195-03-41370 | VALVE,PRESSURE | 10201- | |
| 7 | 175-03-32570 | SCREEN | 10201- | |
| 8 | 07000-63045 | O-RING | 10201- | |
| 9 | 01010-51025 | BOLT | 10201- | |
| 10 | 01602-21030 | WASHER,SPRING | 10201- | |
| 11 | 04530-12438 | BOLT,EYE | 10201- | |
| 12 | 198-03-51113 | CORE | 10280- | |
| 12 | 198-03-51112 | CORE | 10201-10279 | |
| 13 | 198-03-55131 | TANK,LOWER | 10280- | |
| 13 | 198-03-55130 | TANK,LOWER | 10201-10279 | |
| 14 | 198-03-51161 | GASKET | 10350- | |
| 14 | \0\198-03-51160 | GASKET | 10201-10349 | |
| 15 | 195-03-41290 | PLATE | 10201- | |
| 16 | 198-03-51350 | PLATE | 10280- | |
| 16 | 195-03-41310 | PLATE | 10201-10279 | |
| 17 | 01010-51035 | BOLT | 10201- | |
| 18 | 01602-21030 | WASHER,SPRING | 10201- | |
| 19 | 198-03-55510 | TANK | 10201- | |
| 20 | 01010-51225 | BOLT | 10201- | |
| 21 | 01643-31232 | WASHER | 10201- | |
| 22 | 195-03-41420 | STRAINER | 10201- | |
| 23 | 195-03-41390 | CAP | 10201- | |
| 24 | 198-03-55430 | HOSE | 10201- | |
| 25 | 07281-00197 | CLAMP | 10201- | |
| 26 | 08036-01414 | CLIP | 10201- | |
| 27 | 01010-51220 | BOLT | 10201- | |
| 28 | 01643-31232 | WASHER | 10201- | |
| 29 | 195-03-17880 | TUBE | 10201- | |
| 30 | 07285-00100 | CLIP | 10201- | |
| 31 | 195-03-11690 | CLIP | 10201- | |
| 32 | 01010-51220 | BOLT | 10201- | |
| 33 | 01643-31232 | WASHER | 10201- | |
| 34 | 195-03-11690 | CLIP | 10201- | |
| 35 | 01010-51020 | BOLT | 10201- | |
| 36 | 01643-31032 | WASHER | 10201- |
