
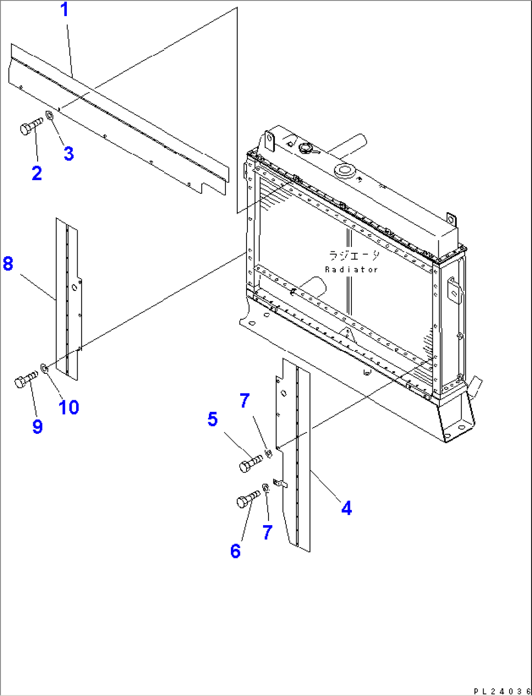
| Item | Part No. | Part Name | Qty | Serial No. |
| 1 | 566-03-6E810 | BAFFLE | 5557- | |
| 2 | 01010-81025 | BOLT | 5557- | |
| 3 | 01643-31032 | WASHER | 5557- | |
| 4 | 566-88-6C931 | BAFFLE | 5557- | |
| 5 | 01010-81225 | BOLT | 5557- | |
| 6 | 01010-81245 | BOLT | 5557- | |
| 7 | 01643-31232 | WASHER | 5557- | |
| 8 | 566-03-6E830 | BAFFLE | 5557- | |
| 9 | 01010-81225 | BOLT | 5557- | |
| 10 | 01643-31232 | WASHER | 5557- |
