
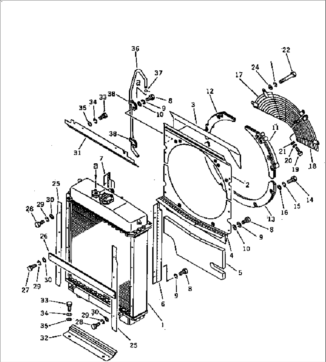
| Item | Part No. | Part Name | Qty | Serial No. |
| 1 | (134-A62-0210) | RADIATOR ASS'Y | 80943- | |
| 2 | 130-03-71270 | SHROUD,UPPER | 80943- | |
| 3 | 134-A62-3470 | ABSORBER | 80943- | |
| 4 | 130-A62-3510 | SHROUD,LOWER | 80943- | |
| 5 | 130-A62-3520 | SEAT | 80943- | |
| 6 | 130-03-71280 | COVER,L.H. | 80943- | |
| 7 | 130-03-71290 | COVER,R.H. | 80943- | |
| 8 | 01010-81025 | BOLT | 80943- | |
| 9 | 01602-21030 | WASHER | 80943- | |
| 10 | 01643-31032 | WASHER | 80943- | |
| 11 | 130-03-71310 | COVER,UPPER, L.H. | 80943- | |
| 12 | 130-03-71320 | COVER,UPPER, R.H. | 80943- | |
| 13 | 130-03-71330 | COVER,LOWER | 80943- | |
| 14 | 01010-81030 | BOLT | 80943- | |
| 15 | 01602-21030 | WASHER | 80943- | |
| 16 | 01643-31032 | WASHER | 80943- | |
| 17 | 130-03-71340 | GUARD | 80943- | |
| 18 | 130-03-71350 | GUARD | 80943- | |
| 19 | 01010-81025 | BOLT | 80943- | |
| 20 | 01602-21030 | WASHER | 80943- | |
| 21 | 01643-31032 | WASHER | 80943- | |
| 22 | 01011-81005 | BOLT | 80943- | |
| 23 | 01602-21030 | WASHER | 80943- | |
| 24 | 01643-31032 | WASHER | 80943- | |
| 25 | 130-03-71241 | PLATE | 81282- | |
| 25 | 130-03-71240 | PLATE | 80943-81281 | |
| 26 | 134-54-21120 | PLATE | 80943-81281 | |
| 27 | 01010-81030 | BOLT | 80943-81281 | |
| 28 | 01010-81025 | BOLT | 81282- | |
| 28 | 01010-81025 | BOLT | 80943-81281 | |
| 29 | 01602-21030 | WASHER | 80943- | |
| 30 | 01643-31032 | WASHER | 80943- | |
| 31 | 130-03-71230 | COVER,UPPER | 80943- | |
| 32 | 130-03-71251 | COVER,LOWER | 80943- | |
| 33 | 01010-81025 | BOLT | 80943- | |
| 34 | 01602-21030 | WASHER | 80943- | |
| 35 | 01643-31032 | WASHER | 80943- | |
| 36 | 144-03-15410 | TUBE | 80943- | |
| 37 | 04059-01010 | WIRE | 80943- | |
| 38 | 6675-61-7380 | CLIP | 80943- |
