
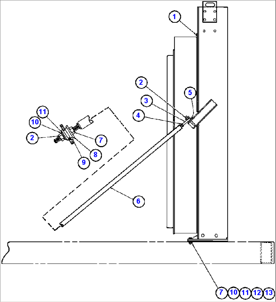
| Item | Part No. | Part Name | Qty | Serial No. |
| 1 | PB6498 | RADIATOR SHROUD ASSM (SEE INDEX) | ||
| 2 | VN9952 | LOCKNUT - 5/8" - 11NC | ||
| 3 | WA1606 | END, ROD | ||
| 4 | F5005 | JAM NUT - 3/4" - 16NF | ||
| 5 | VG9058 | RING, SEATING | ||
| 6 | TK8209 | BAR, STABILIZER | ||
| 7 | C1525 | NUT - 5/8" - 11NC | ||
| 8 | TD5915 | WASHER | ||
| 9 | VC4418 | MOUNT, RUBBER | ||
| 10 | C1541 | LOCKWASHER - 5/8" | ||
| 11 | WA0361 | FLAT WASHER - 5/8" | ||
| 12 | C1632 | CAPSCREW - 5/8" - 11NC x 2 1/2" | ||
| 13 | (NOT USED THIS APPLICATION) |
