
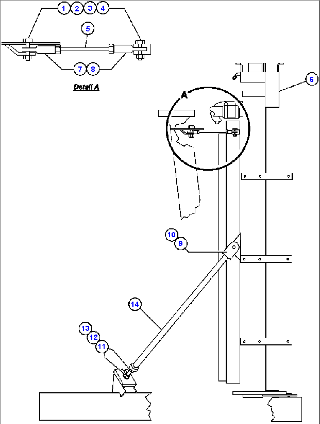
| Item | Part No. | Part Name | Qty | Serial No. |
| 1 | C1634 | CAPSCREW - 5/8" - 11NC X 3" | ||
| 2 | WA0361 | FLAT WASHER - 5/8" | ||
| 3 | C1541 | LOCKWASHER - 5/8" | ||
| 4 | C1525 | NUT - 5/8" - 11NC | ||
| 5 | EG7618 | ROD, THREADED | ||
| 6 | PC1724 | RADIATOR & SHROUD ASSEMBLY (SEE INDEX) | ||
| 7 | WA1605 | END, ROD (R.H. THREAD) | ||
| 7 | WA2605 | END, ROD (L.H. THREAD) | ||
| 8 | C9771 | JAM NUT - 5/8" - 18NF | ||
| 8 | WA1714 | LOCKNUT - 5/8" - 18NF | ||
| 9 | C1644 | CAPSCREW - 3/4" - 10NC X 2" | ||
| 10 | C1542 | LOCKWASHER - 3/4" | ||
| 11 | MM0689 | CAPSCREW - M24 X 3.00 X 180 | ||
| 12 | MM0708 | FLAT WASHER - M24 | ||
| 13 | MM0183 | NUT - M24 X 3.00 | ||
| 14 | EF2986 | SUPPORT, RADIATOR |
