
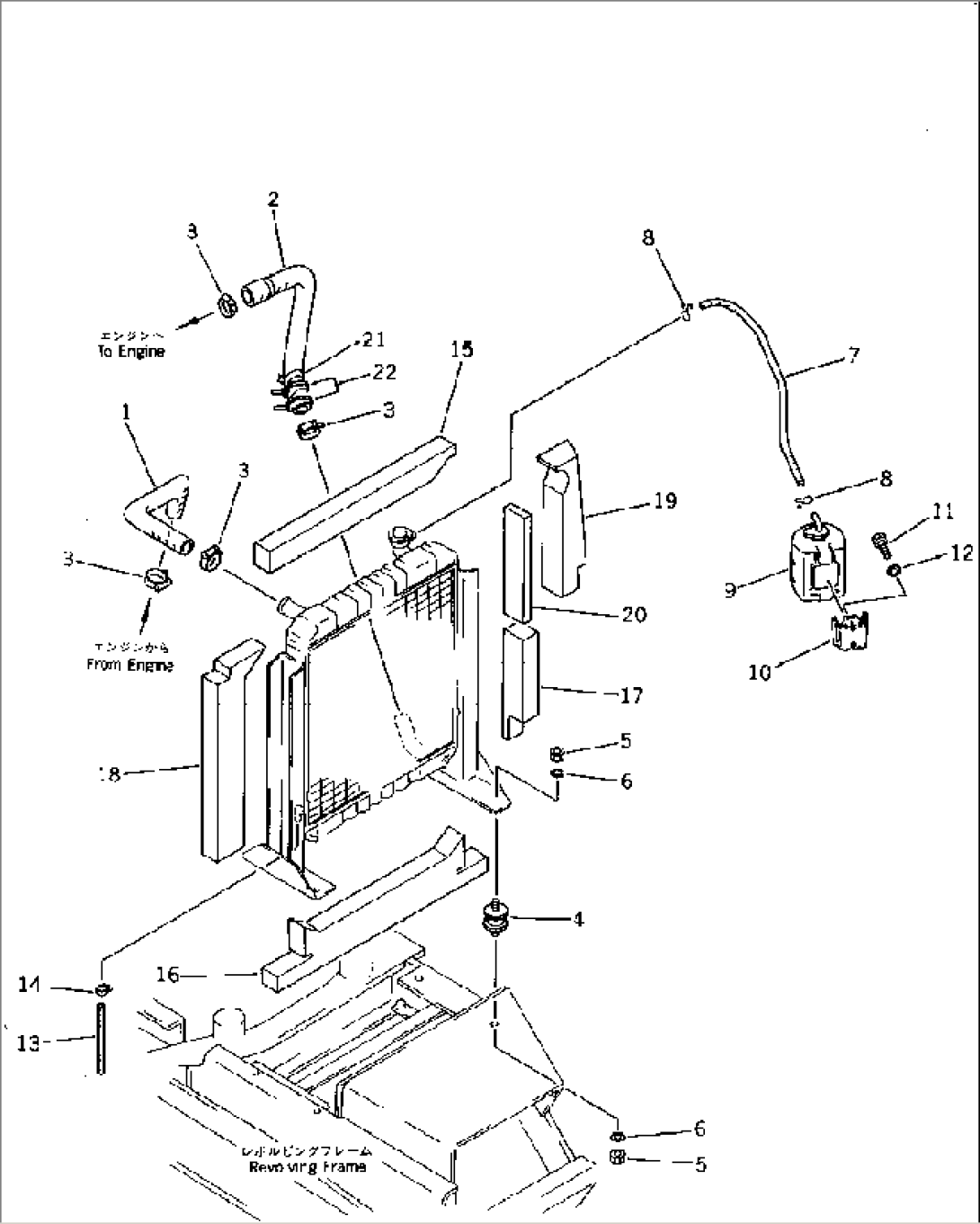
| Item | Part No. | Part Name | Qty | Serial No. |
| 1 | 201-03-51130 | HOSE | 20501- | |
| 2 | 201-03-51141 | HOSE | 20501- | |
| 3 | 207-09-11110 | CLAMP | 25424- | |
| 3 | \0\07281-00489 | CLAMP | 20501-25423 | |
| 4 | 20S-03-11330 | CUSHION | 20501- | |
| 5 | 01580-11008 | NUT | 20501- | |
| 6 | 01643-31032 | WASHER | 20501- | |
| 7 | 21K-03-12660 | HOSE | 20501- | |
| 8 | 206-03-43340 | CLIP | 20501- | |
| 9 | 362-03-14110 | TANK | 20501- | |
| 9 | 362-03-31160 | CAP | 20501- | |
| 10 | 362-03-14120 | BRACKET | 20501- | |
| 11 | 01010-50616 | BOLT | 20501- | |
| 12 | 01643-30623 | WASHER | 20501- | |
| 13 | 203-03-41410 | HOSE | 20501- | |
| 14 | 07280-01010 | CLAMP | 20501- | |
| 15 | 201-03-51220 | SHEET | 20501- | |
| 16 | 201-03-51250 | SHEET | 20501- | |
| 17 | 201-03-51260 | SHEET | 20501- | |
| 18 | 201-03-51270 | SHEET | 20501- | |
| 19 | 201-03-51280 | SHEET | 20501- | |
| 20 | 201-03-51290 | SHEET | 20501- | |
| 21 | 201-03-51320 | SEAT | 20501- | |
| 22 | 08034-00823 | BAND | 20501- |
