
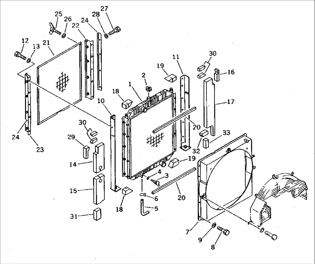
| Item | Part No. | Part Name | Qty | Serial No. |
| 1 | 208-03-51111 | CORE ASS'Y | 20001- | |
| 2 | 205-03-71280 | CAP ASS'Y | 20001- | |
| 3 | 205-03-62660 | PLUG | 20001- | |
| 4 | 07000-01007 | O-RING | 20001- | |
| 5 | 205-03-71230 | HOSE | 20001- | |
| 6 | 20Y-03-11330 | CLIP | 20001- | |
| G-1 | (\8\208-03-X1210) | GUARD GROUP | 20001- | |
| ==================== | ||||
| 7 | 208-03-51431 | SHROUD | 20001- | |
| ==================== | ||||
| 8 | 01010-51225 | BOLT | 20001- | |
| 9 | 01643-31232 | WASHER | 20001- | |
| 10 | 208-03-52160 | FRAME | 20001- | |
| 11 | 208-03-52150 | FRAME | 20001- | |
| 12 | 01010-51225 | BOLT | 20001- | |
| 13 | 01643-31232 | WASHER | 20001- | |
| 14 | 208-03-51171 | SEAL | 20001- | |
| 15 | 207-03-51331 | SEAL | 20001- | |
| 16 | 207-03-51341 | SEAL | 20001- | |
| 17 | 208-03-52241 | SEAL | 20001- | |
| 18 | 208-03-52171 | SEAL | 20001- | |
| 19 | 208-03-52181 | SEAL | 20001- | |
| 20 | 208-03-52191 | SHEET | 20001- | |
| 21 | 208-03-52271 | NET | 20001- | |
| 22 | 208-03-52251 | BRACKET | 20001- | |
| 23 | 208-03-52261 | BRACKET | 20001- | |
| 24 | 208-03-52290 | BRACKET | 20001- | |
| 25 | 01434-10620 | BOLT¤ WING,WING | 20001- | |
| 26 | 01643-30623 | WASHER | 20001- | |
| 27 | 01010-50812 | BOLT | 20001- | |
| 28 | 01643-30823 | WASHER | 20001- | |
| 29 | 207-03-51351 | SEAL | 20001- | |
| 30 | 207-03-51361 | SEAL | 20001- | |
| 31 | 208-03-51261 | SEAL | 20001- | |
| 32 | 208-03-52330 | SEAL | 20001- | |
| 33 | 208-03-52340 | SEAL | 20001- |
