
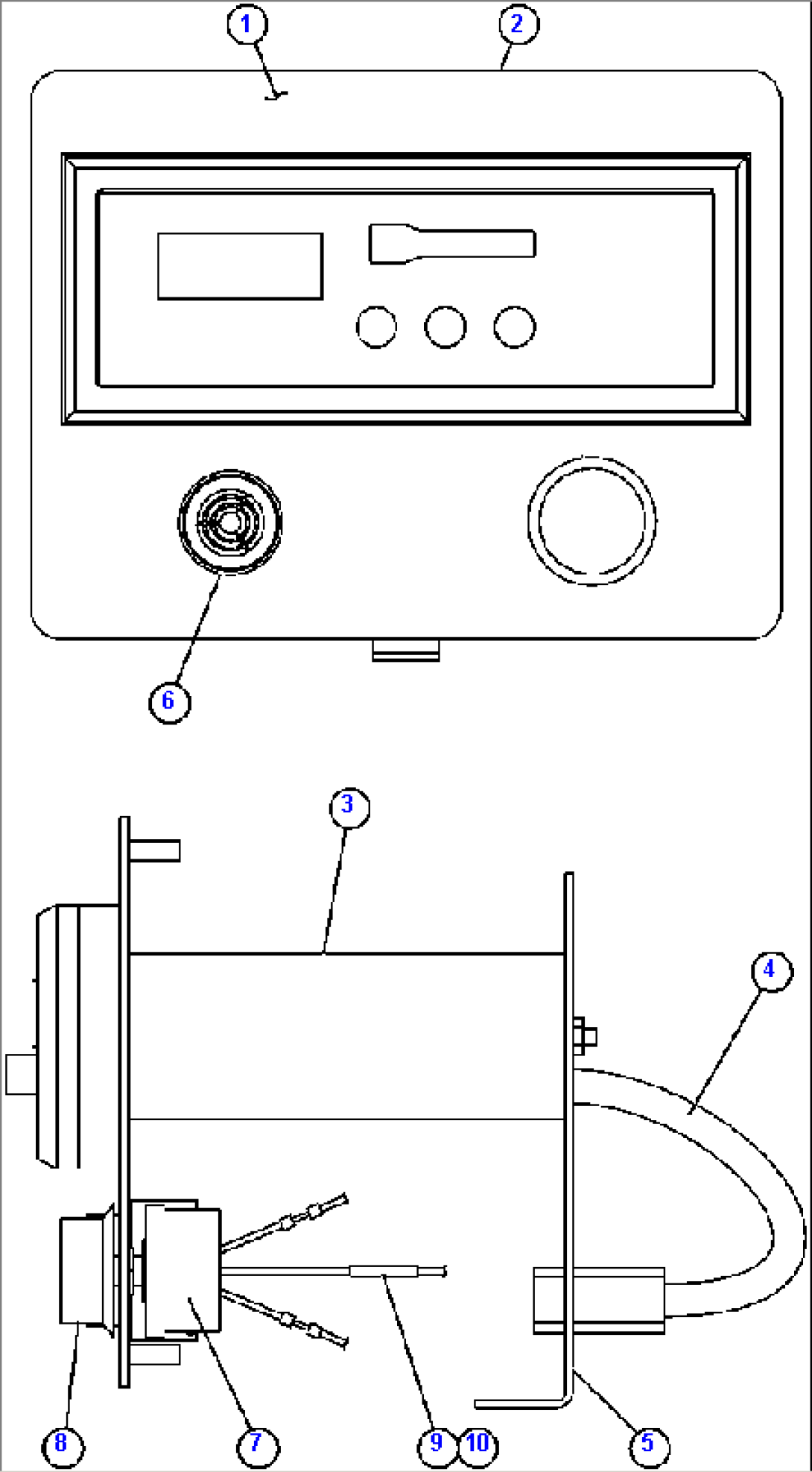
| Item | Part No. | Part Name | Qty | Serial No. |
| 1 | SM2701 | LEXAN OVERLAY, RADIO | ||
| 2 | SM5332 | MOUNT, RADIO | ||
| 3 | PC1164 | RADIO | ||
| 4 | EJ1556 | HARNESS, RADIO | ||
| 5 | EK4230 | SUPPORT | ||
| 6 | PC0441 | ALARM, AUDIBLE | ||
| 7 | ED2863 | POTENTIOMETER (DIMMER CONTROL) | ||
| 8 | PB5957 | KNOB | ||
| 9 | SF9896 | DISCONNECT, KNIFE - 14-16 AWG | ||
| 10 | DL4172 | SLEEVE, INSULATING | ||
| 10 | (NOT SOLD AS AN ASSEMBLY. | |||
| 10 | ORDER INDIVIDUAL COMPONENT PARTS.) |
