
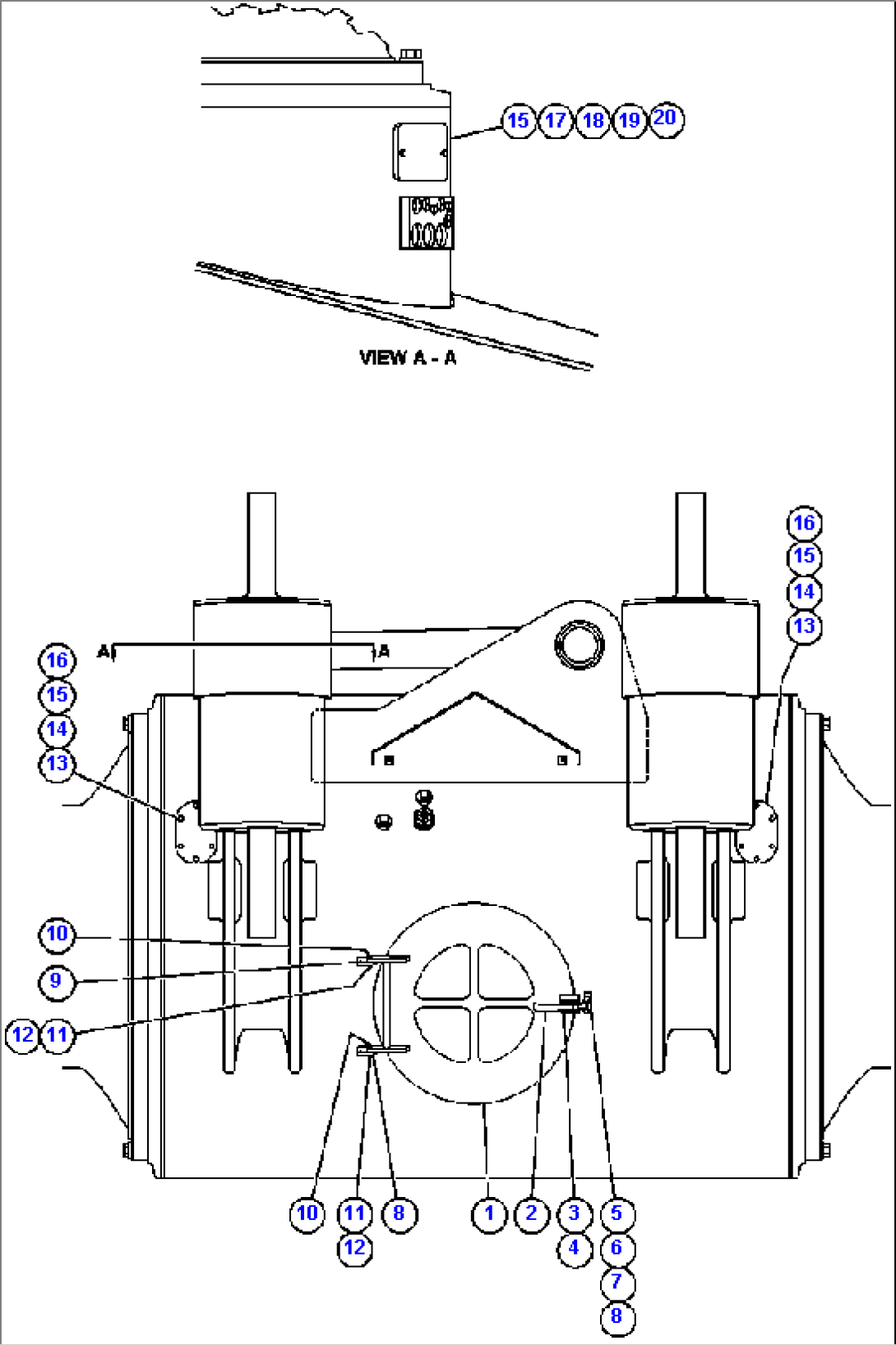
| Item | Part No. | Part Name | Qty | Serial No. |
| 1 | EF9546 | COVER, HATCH | ||
| 1 | TY1549 | SEAL, REAR HATCH COVER | ||
| 2 | PB1006 | KIT, LATCH/KEEPER | ||
| 3 | SP8417 | FLAT WASHER - 1/4" | ||
| 4 | TD1548 | CAPSCREW - 1/4" - 20NC X 5/8" | ||
| 5 | TD1809 | CAPSCREW - 1/4" - 20NC X 3/4" | ||
| 6 | TK7738 | SHIM | ||
| 7 | TY2733 | PAD, TAPPED | ||
| 8 | TY2732 | MOUNTING, EAR (LOWER) | ||
| 9 | TY2731 | MOUNTING, EAR (UPPER) | ||
| 10 | VC4899 | FLAT WASHER - 1/2" (COPPER) | ||
| 11 | WA0360 | FLAT WASHER - 1/2" (HARDENED) | ||
| 12 | C2303 | PIN, COTTER | ||
| 13 | EF0706 | PLATE, COVER | ||
| 14 | EF6612 | GASKET | ||
| 15 | TC1231 | LOCKWASHER - 3/8" | ||
| 16 | TG5720 | CAPSCREW - 3/8" - 16NC X 1" | ||
| 17 | EG0556 | PLATE, COVER | ||
| 18 | EG0557 | GASKET | ||
| 19 | C1547 | FLAT WASHER - 3/8" | ||
| 20 | TD0789 | CAPSCREW - 3/8" - 16NC X 1 3/4" |
