
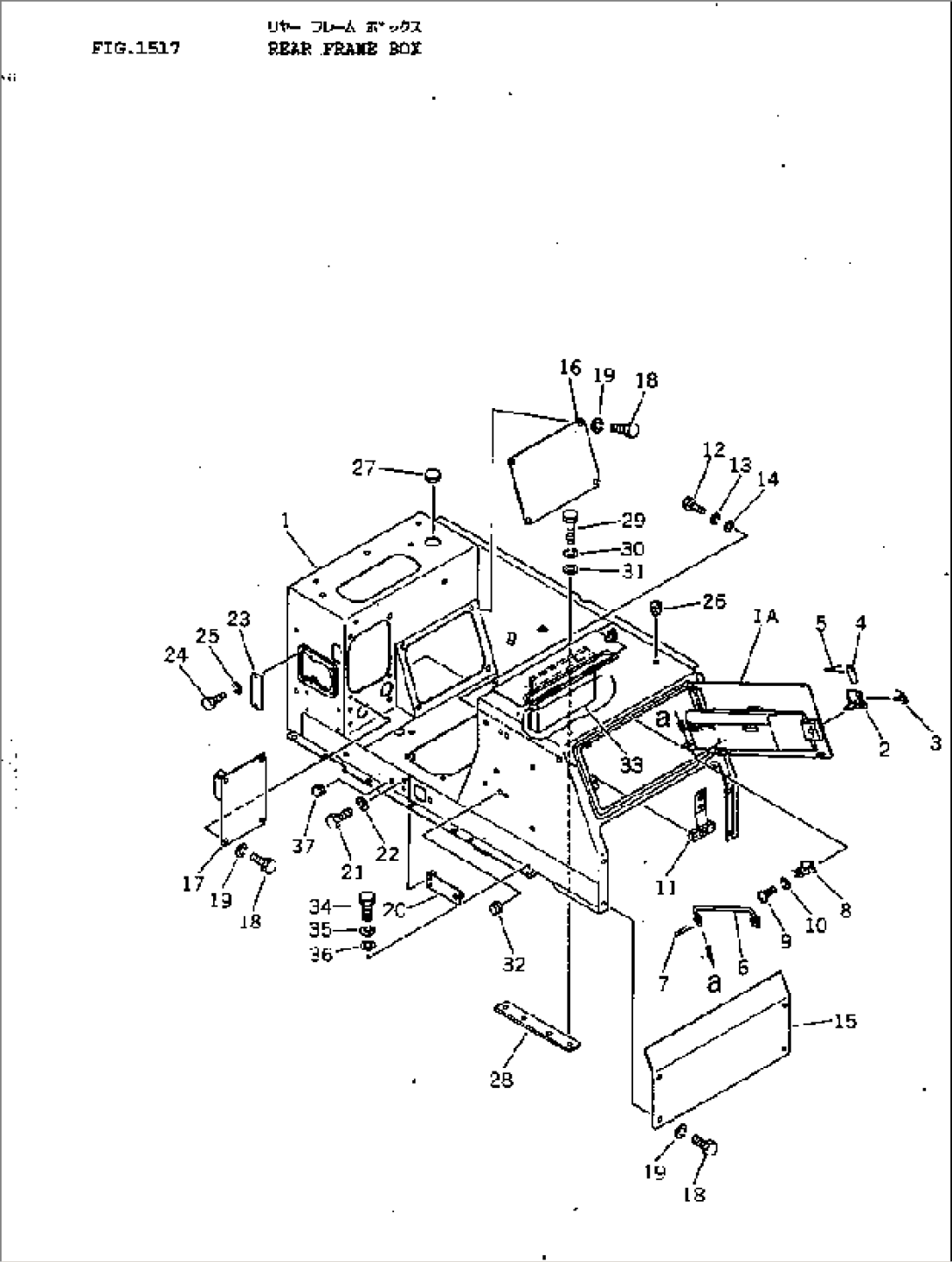
| Item | Part No. | Part Name | Qty | Serial No. |
| 120-54-00300 | BOX ASS'Y | 6001- | ||
| 1 | \6\ | BOX | 6001- | |
| 1A | 120-54-32121 | BOX | 6001- | |
| 2 | 09461-00021 | LEVER | 6001- | |
| 3 | 09461-00023 | SPRING | 6001- | |
| 4 | 09461-00022 | PIN | 6001- | |
| 5 | 04050-13018 | PIN,COTTER | 6001- | |
| 6 | 120-54-32431 | ROD | 6001- | |
| 7 | 04050-13022 | PIN,COTTER | 6001- | |
| 8 | 20R-54-11460 | SPRING | 6001- | |
| 9 | 01220-40512 | SCREW | 6001- | |
| 10 | 01601-00513 | WASHER,SPRING | 6001- | |
| 11 | 124-54-21710 | SPRING | 6001- | |
| 12 | 01010-30816 | BOLT | 6001- | |
| 13 | 01602-00825 | WASHER,SPRING | 6001- | |
| 14 | 01640-20816 | WASHER | 6001- | |
| 15 | 120-54-32141 | COVER | 6001- | |
| 16 | 120-54-32161 | COVER | 6001- | |
| 17 | 120-54-32151 | COVER | 6001- | |
| 18 | 01010-31225 | BOLT | 6001- | |
| 19 | 01602-01236 | WASHER,SPRING | 6001- | |
| 20 | 120-54-32341 | PLATE | 6001- | |
| 21 | 01010-31230 | BOLT | 6001- | |
| 22 | 01602-01236 | WASHER,SPRING | 6001- | |
| 23 | 120-54-33271 | COVER | 6001- | |
| 24 | 01010-30816 | BOLT | 6001- | |
| 25 | 01602-00825 | WASHER,SPRING | 6001- | |
| 26 | 07049-01215 | PLUG | 6001- | |
| 27 | 09415-03614 | CAP | 6001- | |
| 28 | 120-54-32331 | SPACER | 6001- | |
| 29 | 01010-31270 | BOLT | 6001- | |
| 30 | 01602-01236 | WASHER,SPRING | 6001- | |
| 31 | 01643-31232 | WASHER | 6001- | |
| 32 | 09989-03046 | BOX | 6001- | |
| 33 | 01010-31225 | BOLT | 6001- | |
| 34 | 01602-01236 | WASHER,SPRING | 6001- | |
| 35 | 01643-31232 | WASHER | 6001- | |
| 36 | 09415-01008 | CAP | 6001- |
