
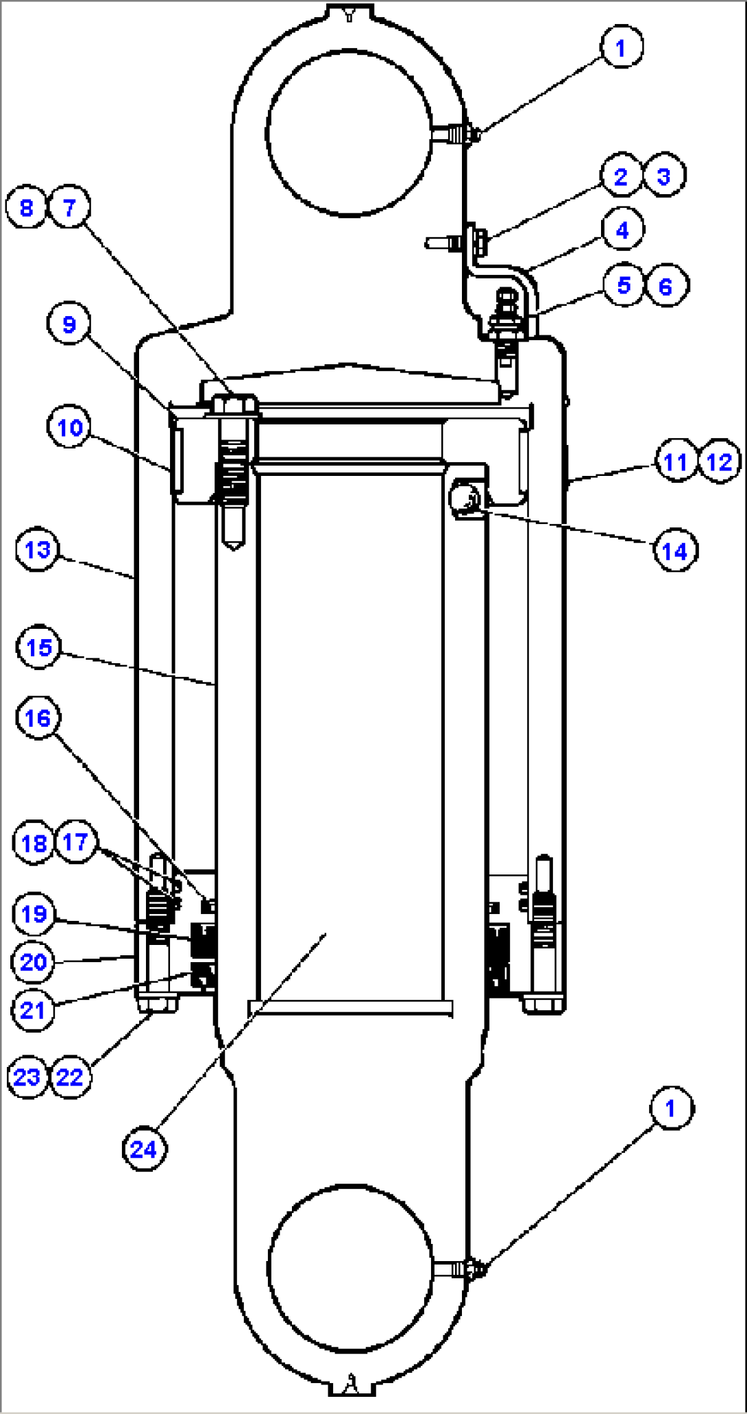
| Item | Part No. | Part Name | Qty | Serial No. |
| 1 | C0315 | FITTING, GREASE | ||
| 2 | VC9049 | CAPSCREW - 5/16" - 18NC X 5/8" | ||
| 3 | SC4174 | LOCKWASHER - 5/16" | ||
| 4 | VZ4269 | GUARD, VALVE | ||
| 5 | PB2194 | CHARGING VALVE ASSM | ||
| 5 | TR9993 | CAP | ||
| 5 | TD7179 | CORE | ||
| 5 | VD8711 | O-RING | ||
| 5 | VD8712 | O-RING | ||
| 6 | VD5076 | GASKET | ||
| 7 | VN9076 | CAPSCREW - 5/8" - 11NC X 2 1/4" | ||
| 8 | WA0361 | FLAT WASHER - 5/8" | ||
| 9 | TX8388 | RETAINER, BEARING | ||
| 10 | WA4607 | BEARING, UPPER | ||
| 11 | WA2892 | PLATE, WARNING | ||
| 12 | R1073 | DRIVE SCREW | ||
| 13 | TX8387 | TUBE | ||
| 14 | H2981 | BALL - 3/4" | ||
| 15 | TX8385 | TUBE, PISTON | ||
| 16 | PB6129 | SEAL, ROD | ||
| 17 | WA0267 | O-RING | ||
| 18 | WA1267 | BACK-UP RING | ||
| 19 | PB6151 | SEAL, ROD | ||
| 20 | TX8389 | RETAINER, SEAL | ||
| 21 | WA4516 | SEAL, WIPER | ||
| 22 | VN9086 | CAPSCREW - 1/2" - 13NC X 2 1/2" | ||
| 23 | WA0360 | FLAT WASHER - 1/2" | ||
| 24 | VJ3911 | OIL, SUSPENSION (5 GAL. CAN) |
