
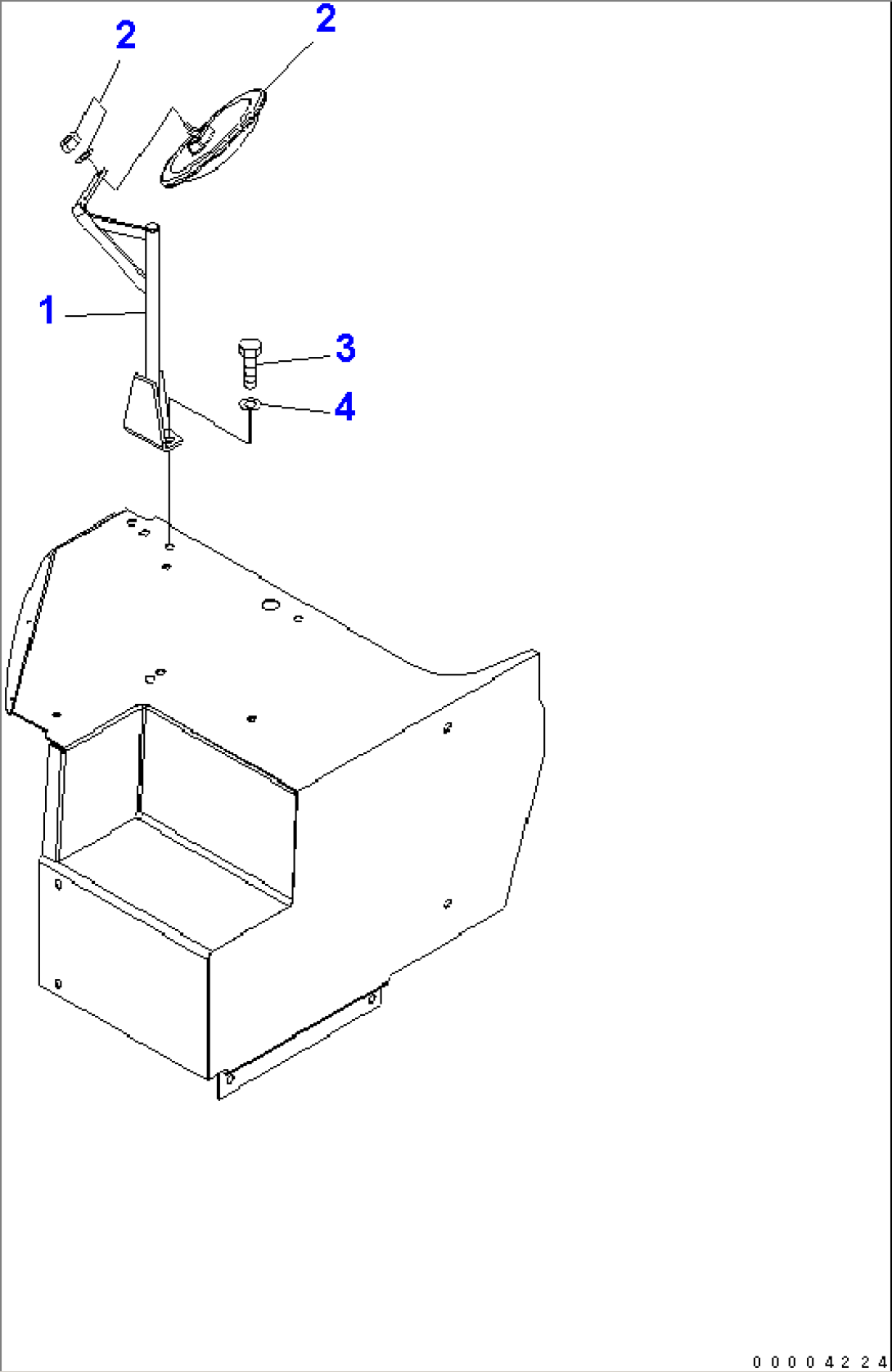
| Item | Part No. | Part Name | Qty | Serial No. |
| 1 | 22U-54-24711YN | BRACKET | 20001- | |
| 2 | 23S-54-36270 | MIRROR | 20001- | |
| 3 | 01010-81235 | BOLT | 20001- | |
| 4 | 01643-31232 | WASHER | 20001- |

| Item | Part No. | Part Name | Qty | Serial No. |
| 1 | 22U-54-24711YN | BRACKET | 20001- | |
| 2 | 23S-54-36270 | MIRROR | 20001- | |
| 3 | 01010-81235 | BOLT | 20001- | |
| 4 | 01643-31232 | WASHER | 20001- |