
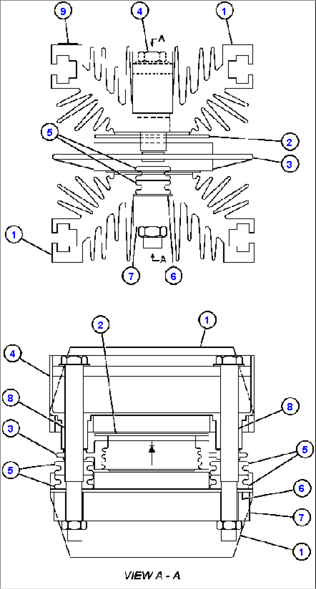
| Item | Part No. | Part Name | Qty | Serial No. |
| 1 | VE4327 | HEAT SINK | ||
| 2 | VE0174 | DIODE | ||
| 3 | VE4328 | MOULDED RING - 5" OD | ||
| 4 | VE5035 | CLAMP | ||
| 5 | VE5036 | GROMMET - 0.375" ID | ||
| 6 | VE5037 | GLASTIC SHIELD - 0.060" THICK | ||
| 7 | VE5038 | SUPPORT BAR - 5.125" LONG | ||
| 8 | VE5039 | TUBE - 0.375" ID, 3.30" LONG | ||
| 9 | VE5040 | LABEL (MARKED 41C665155G2) |
