
| Item | Part No. | Part Name | Qty | Serial No. |
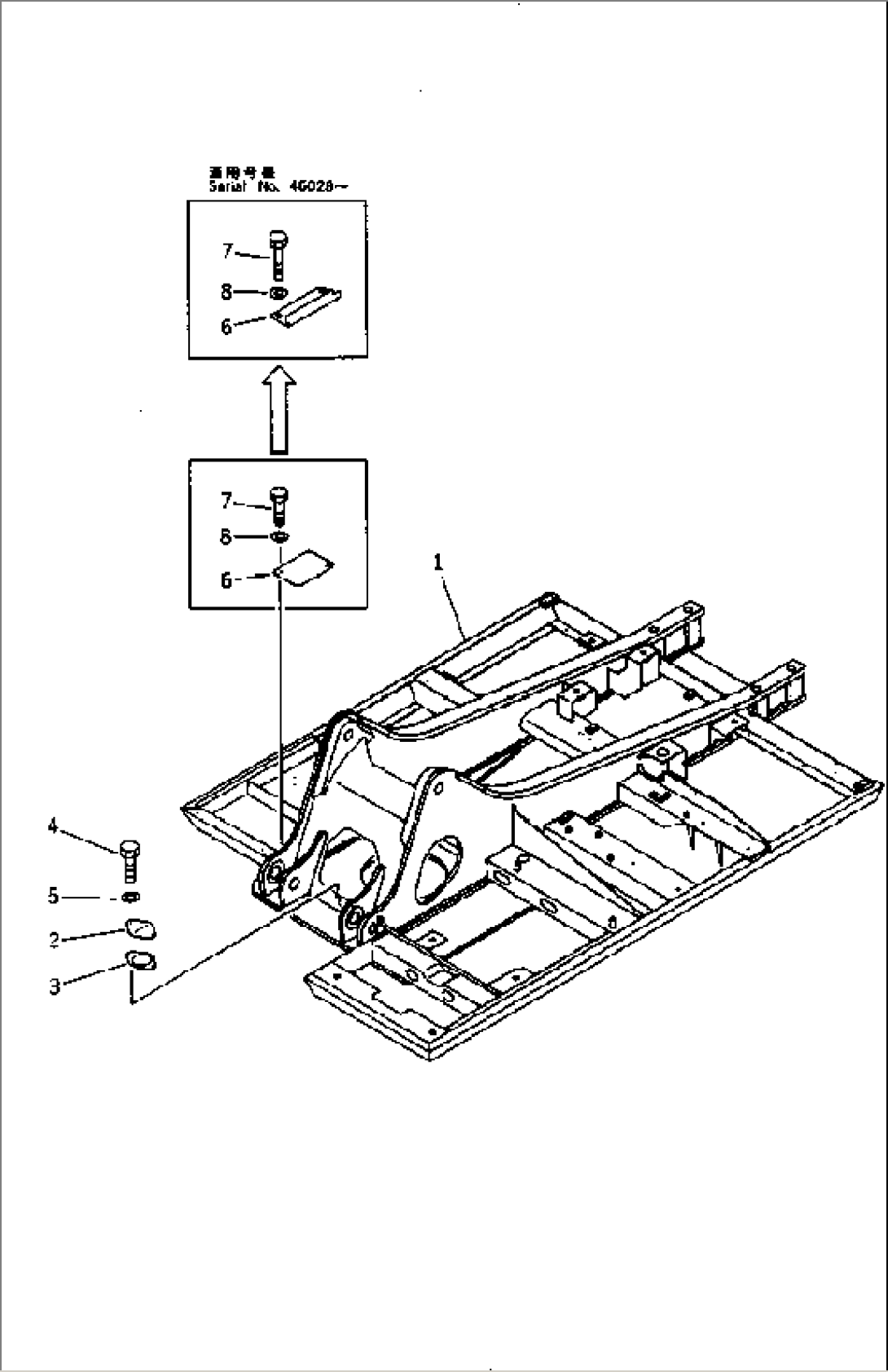
| 1 | 20Y-46-11302 | FRAME,REVOLVING | 45001- | |
| 2 | 205-30-71181 | COVER PAINT (2) | 45001- | |
| 3 | 205-30-71191 | GASKET | 45001- | |
| 4 | 01010-51230 | BOLT | 45001- | |
| 5 | 01643-31232 | WASHER | 45001- | |
| 6 | 20Y-46-11180 | PLATE PAINT (2) | 46028- | |
| 7 | 01010-51230 | BOLT | 46028- | |
| 8 | 01643-31232 | WASHER | 46028- | |
| G-1 | (\8\20Y-46-X2101) | WEIGHT GROUP | 45001- | |
| ==================== | ||||
| 9 | 20Y-46-11213 | WEIGHT,COUNTER PAINT (2) | 45001- | |
| 10 | 20Y-46-11270 | CAP | 45001- | |
| 11 | 207-46-12141 | BOLT | 45001- | |
| 12 | 01643-32780 | WASHER | 45001- | |
| 13 | 205-46-71190 | PLATE¤ 1.6MM | 45001-47283 | |
| 14 | 20Y-46-11410 | PLATE¤ 1.6MM | 47284- | |
| 15 | 01370-00508 | SCREW | 52784- | |
| 01370-00512 | SCREW | 45001-52783 | ||
| ==================== |
