
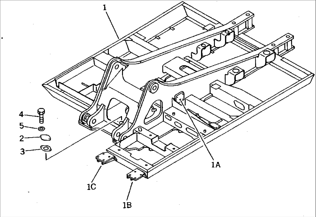
| Item | Part No. | Part Name | Qty | Serial No. |
| 1 | 207-956-5221 | FRAME | 21401- | |
| 1A | 207-970-5550 | PLATE (WELDED) | 20001- | |
| 1B | 207-956-5132 | BRACKET (WELDED) | 20001- | |
| 1C | 207-956-5142 | BRACKET (WELDED) | 20001- | |
| 2 | 205-30-71181 | COVER | 20001- | |
| 3 | 205-30-71191 | GASKET | 20001- | |
| 4 | 01010-51230 | BOLT | 20001- | |
| 5 | 01643-31232 | WASHER | 20001- |
