
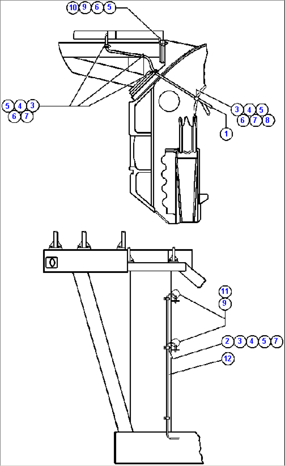
| Item | Part No. | Part Name | Qty | Serial No. |
| 1 | CH2918 | CABLE (24V ALT. OUTPUT TO 24V DISCONNECT SW.) | ||
| 1 | ALTERNATOR - POSITIVE TERMINAL) | |||
| 2 | 424243 | CLAMP | ||
| 3 | TG2568 | CLAMP | ||
| 4 | TC1231 | LOCKWASHER - 3/8" | ||
| 5 | TC1233 | NUT - 3/8" - 16NC | ||
| 6 | VH9969 | STUD, WELD - 3/8" - 16NC X 3/4" | ||
| 7 | TR4436 | FLAT WASHER - 3/8" | ||
| 8 | TW7651 | ANGLE | ||
| 9 | SP6153 | LOCKWASHER - 3/8" (EXT.-INT. TEETH) | ||
| 10 | VN5153 | WIRE, GROUND | ||
| 11 | AK7504 | SERVICE LIGHT ASSM | ||
| 11 | AK7552 | HOUSING | ||
| 11 | AK7575 | BULB - 24V/65W - H.D. | ||
| 11 | AK7535 | LENS, REFLECTOR UNITS W/O BULB | ||
| 12 | EF0983 | WIRE - R.H. SERVICE LIGHTS |
