
| Item | Part No. | Part Name | Qty | Serial No. |
| G-1 | (\8\207-934-X110) | BUCKET GROUP | 10001- | |
| ==================== | ||||
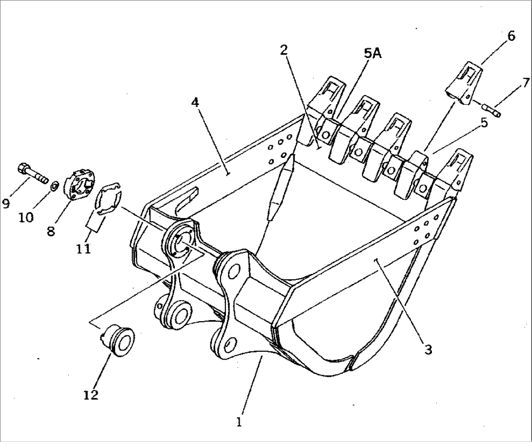
| 1 | 207-934-5110 | BUCKET | 10001- | |
| 2 | 207-934-5150 | PLATE (WELDED) | 10001- | |
| 3 | 207-934-5131 | PLATE,L.H. (WELDED) | 10580- | |
| 207-934-5130 | PLATE,L.H. (WELDED) | 10001-10579 | ||
| 4 | 207-934-5141 | PLATE,R.H. (WELDED) | 10580- | |
| 207-934-5140 | PLATE,R.H. (WELDED) | 10001-10579 | ||
| 5 | 207-934-5120 | ADAPTER (WELDED) | 10001- | |
| 5A | 208-934-5170 | SHROUD (WELDED) | 10001- | |
| 6 | 207-70-14151 | TOOTH | 10001- | |
| 7 | 09244-02516 | PIN | 10001- | |
| 8 | 207-70-34240 | COVER | 10001- | |
| 9 | 01010-32065 | BOLT | 10155- | |
| \0\01010-52065 | BOLT | 10001-10154 | ||
| 10 | 01643-32060 | WASHER | 10001- | |
| ==================== | ||||
| G-2 | (\8\207-934-X120) | PARTS GROUP,INDIVIDUALLY FORWARDING | 10001- | |
| ==================== | ||||
| 11 | 207-70-00060 | SHIM ASS'Y | 10001- | |
| \6\ | SHIM¤ 0.5MM | 10653- | ||
| \6\ | SHIM¤ 0.5MM | 10001-10652 | ||
| \6\ | SHIM¤ 1.0MM | 10653- | ||
| \6\ | SHIM¤ 1.0MM | 10001-10652 | ||
| 12 | 207-70-34230 | BUSHING | 10001- | |
| ==================== |
