Ваш браузер устарел. Этот сайт может работать неполноценно или выглядеть сломанным. Обновите ваш браузер, если можете.
Наличие
Каталог запчастей
Контакты
+7 (423) 222-39-13
sharahov.komdir@vladremsnab.ru
Обратная связь
RU
EN
Наличие
Каталог запчастей
Контакты
+7 (423) 222-39-13
sharahov.komdir@vladremsnab.ru
RU
EN
Обратная связь
Главная
Каталог запчастей
Самосвалы
Afe52 at 930e 3 s/n a30442 a30444 (barrick)
Body group
Rock ejectors installation
Поиск по каталогу
Найти!
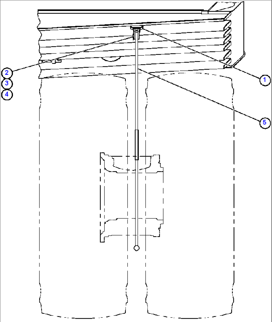
ROCK EJECTORS INSTALLATION
Item
Part No.
Part Name
Qty
Serial No.
1
EJ7563
MOUNT, EJECTOR ARM - R.H.
1
EJ7564
MOUNT, EJECTOR ARM - L.H.
2
EJ7574
PIN
3
VC6188
FLAT WASHER - 1 1/2"
4
C2508
COTTER PIN
5
EJ7567
ARM, EJECTOR
Вернуться в каталог
Оформить заказ
auto
light
dark
Заявка
Имя
Телефон
Эл. почта
Товары в корзине:
Сообщение
Нажимая кнопку «Отправить», вы соглашаетесь с
пользовательским соглашением
и
политикой конфеденциальности
Отправить
Обратная связь
Имя
Телефон
Эл. почта
Сообщение
Нажимая кнопку «Отправить», вы соглашаетесь с
пользовательским соглашением
и
политикой конфеденциальности
Отправить