
| Item | Part No. | Part Name | Qty | Serial No. |
| 1 | EJ7563 | MOUNT, EJECTOR ARM - RH | ||
| 1 | EJ7564 | MOUNT, EJECTOR ARM - LH | ||
| 2 | EJ7574 | PIN | ||
| 3 | VC6188 | FLAT WASHER - 1 1/2" | ||
| 4 | C2508 | COTTER PIN | ||
| 5 | EJ7567 | ARM, EJECTOR |

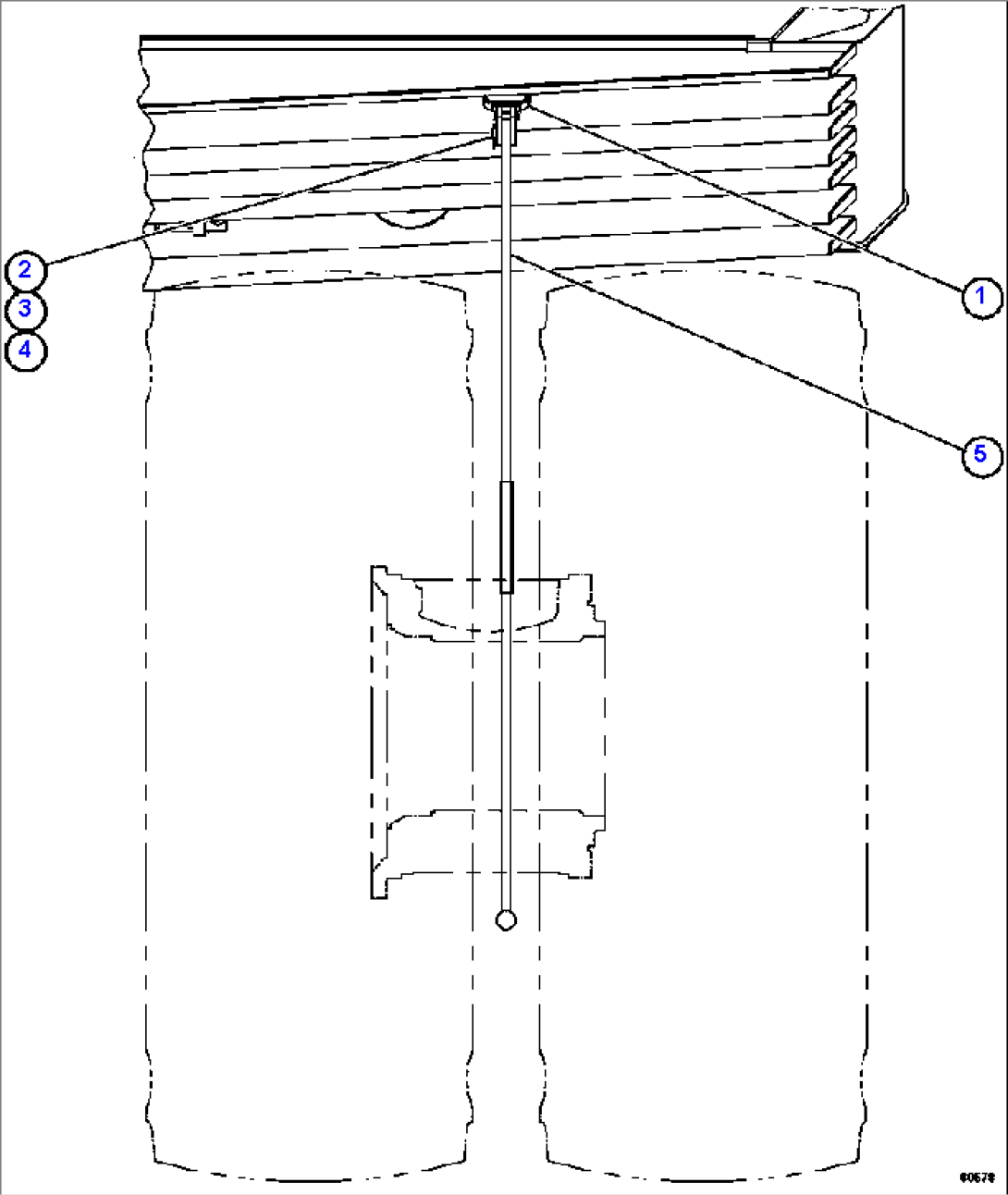
| Item | Part No. | Part Name | Qty | Serial No. |
| 1 | EJ7563 | MOUNT, EJECTOR ARM - RH | ||
| 1 | EJ7564 | MOUNT, EJECTOR ARM - LH | ||
| 2 | EJ7574 | PIN | ||
| 3 | VC6188 | FLAT WASHER - 1 1/2" | ||
| 4 | C2508 | COTTER PIN | ||
| 5 | EJ7567 | ARM, EJECTOR |