
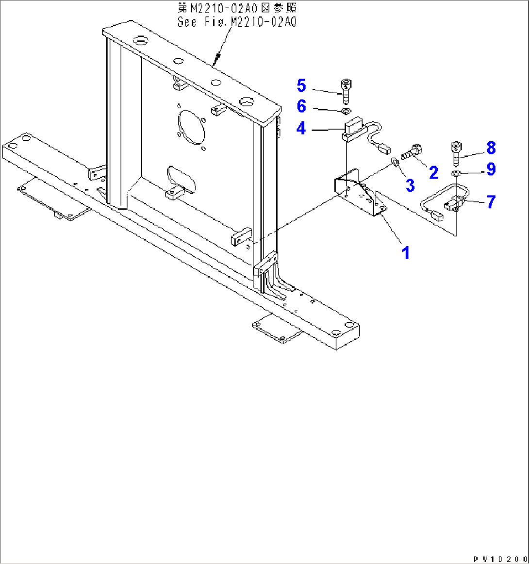
| Item | Part No. | Part Name | Qty | Serial No. |
| 1 | 195-06-71190 | BRACKET | 25050-@ | |
| 2 | 01010-81230 | BOLT | 25050-@ | |
| 3 | 01643-31232 | WASHER | 25050-@ | |
| 4 | 7861-93-5380 | SENSOR,ANGLE | 25050-@ | |
| 5 | 01252-60635 | BOLT | 25050-@ | |
| 6 | 01643-30623 | WASHER | 25050-@ | |
| 7 | 7861-93-5410 | SENSOR,ACCELERATION | 25050-@ | |
| 8 | 01252-60616 | BOLT | 25050-@ | |
| 9 | 01643-30623 | WASHER | 25050-@ |
